专利数据库
统计分析
产业报告
专利数据监控
产业人才
行业动态
产业政策法规
维权援助
个人中心
详情
文本
图像
标题
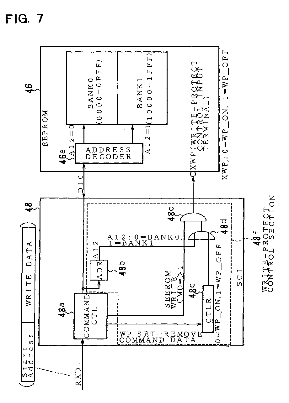
LED characteristic memory for LED display apparatus
授权日
1900-01-01
公开(公告)号
EP1594117A3
申请日
2000-07-05
公开(公告)日
2007-12-19
当前申请(专利权)人
NICHIA CORPORATION
发明人
TSUJI, RYUHEI C/O NICHIA CORPORATION
简单同族
CA2313550A1 | CA2313550C | CN100336093C | CN100336094C | CN1195292C | CN1282065A | CN1495695A | CN1495696A | EP1067505A2 | EP1067505A3 | EP1594117A2 | EP1594117A3 | EP1594117B1 | EP1612764A2 | EP1612764A3 | EP1612764B1 | KR100618252B1 | KR1020010029903A | SG119173A1 | SG98413A1 | TW468143B | US20030085854A1 | US6545652 | US6847342
简单同族成员数量
24
简单同族被引用专利总数
139
诉讼案件数
0
法律状态/事件
期限届满
抱歉,您的浏览器不支持PDF预览,请点击链接下载PDF文件