专利数据库
统计分析
产业报告
专利数据监控
产业人才
行业动态
产业政策法规
维权援助
个人中心
详情
文本
图像
标题
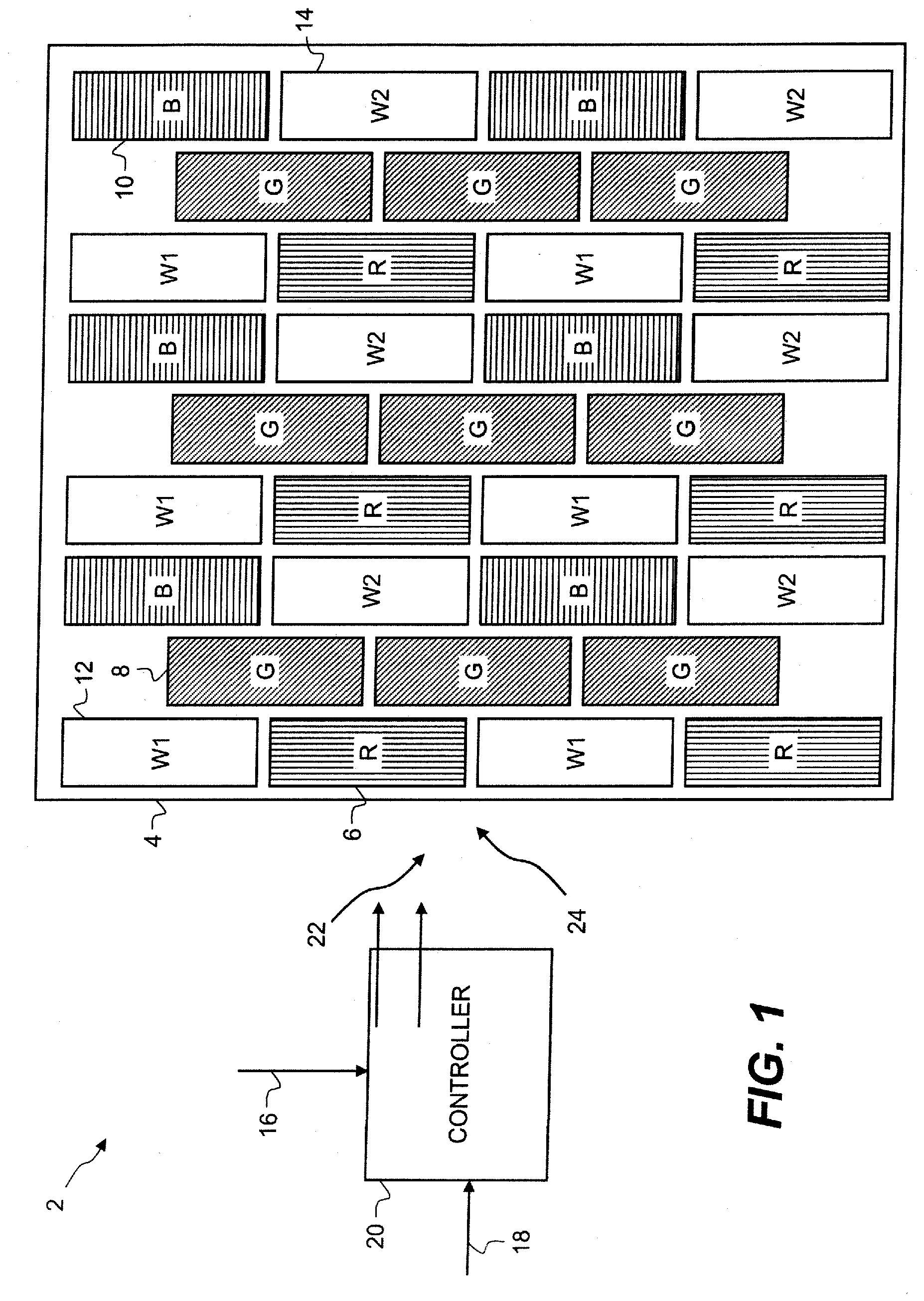
Electro-luminescent display with additional primaries and adjustable white point
授权日
2017-04-26
公开(公告)号
EP2430630B1
申请日
2010-05-07
公开(公告)日
2017-04-26
当前申请(专利权)人
GLOBAL OLED TECHNOLOGY LLC
发明人
MILLER, MICHAEL, E. | BOROSON, MICHAEL, L.
简单同族
CN102422341A | CN102422341B | EP2430630A1 | EP2430630B1 | JP2012527011A | JP5426020B2 | KR101270187B1 | KR1020120017066A | TW201101276A | TWI376668B | US20100289727A1 | US8237633 | WO2010132295A1
简单同族成员数量
13
简单同族被引用专利总数
66
诉讼案件数
0
法律状态/事件
授权
抱歉,您的浏览器不支持PDF预览,请点击链接下载PDF文件