专利数据库
统计分析
产业报告
专利数据监控
产业人才
行业动态
产业政策法规
维权援助
个人中心
详情
文本
图像
标题
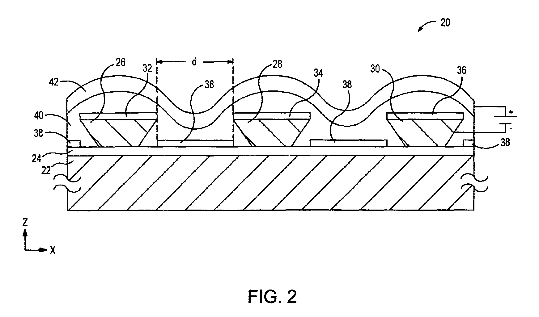
Oled display device and method for partterning cathodes of the device
授权日
1900-01-01
公开(公告)号
EP1134816A2
申请日
2001-01-17
公开(公告)日
2001-09-19
当前申请(专利权)人
AVAGO TECHNOLOGIES ECBU IP (SINGAPORE) PTE. LTD.
发明人
ROITMAN, DANIEL B. | ANTONIADIS, HOMER
简单同族
EP1134816A2 | EP1134816A3 | JP2001267088A | JP2001267088A5 | JP4703873B2 | US6191433
简单同族成员数量
6
简单同族被引用专利总数
50
诉讼案件数
0
法律状态/事件
撤回 | 权利转移
抱歉,您的浏览器不支持PDF预览,请点击链接下载PDF文件