专利数据库
统计分析
产业报告
专利数据监控
产业人才
行业动态
产业政策法规
维权援助
个人中心
详情
文本
图像
标题
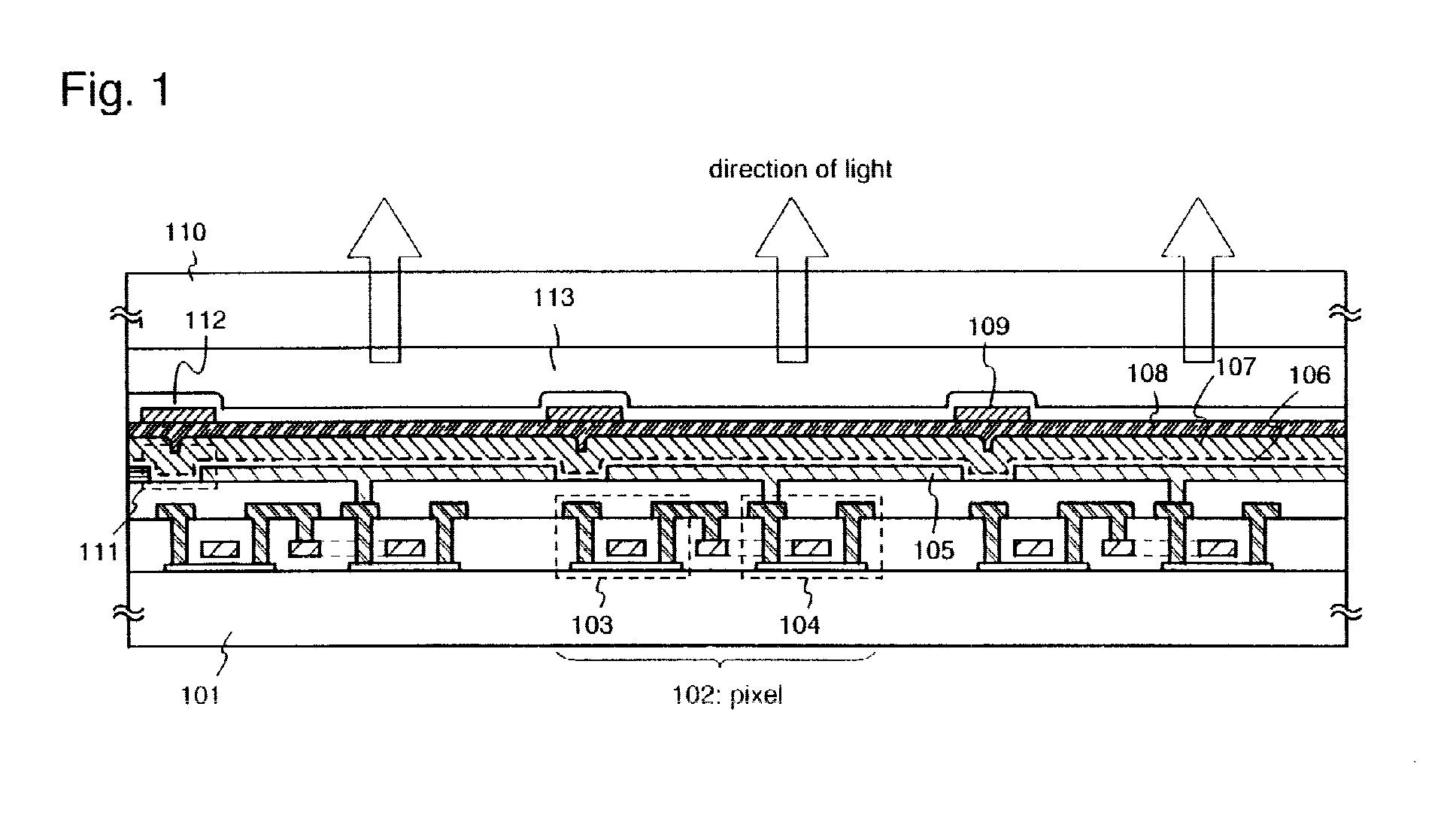
EL display device
授权日
1900-01-01
公开(公告)号
EP1109225A2
申请日
2000-12-15
公开(公告)日
2001-06-20
当前申请(专利权)人
SEMICONDUCTOR ENERGY LABORATORY CO., LTD.
发明人
NISHI, TAKESHI | ISHIMARA, NORIKO
简单同族
CN100514667C | CN1263165C | CN1300105A | CN1901219A | EP1109225A2 | EP1109225A3 | EP1109225B1 | JP2011170358A | JP2013058484A | JP2013058484A5 | JP2013235861A | JP2015065180A | JP5292421B2 | JP5957512B2 | KR100686479B1 | KR100740024B1 | KR1020010062490A | KR1020060012549A | TW511298B | US20010004190A1 | US20040003939A1 | US20060286889A1 | US20110210661A1 | US6593691 | US8754577
简单同族成员数量
25
简单同族被引用专利总数
467
诉讼案件数
0
法律状态/事件
权利终止
抱歉,您的浏览器不支持PDF预览,请点击链接下载PDF文件