专利数据库
统计分析
产业报告
专利数据监控
产业人才
行业动态
产业政策法规
维权援助
个人中心
详情
文本
图像
标题
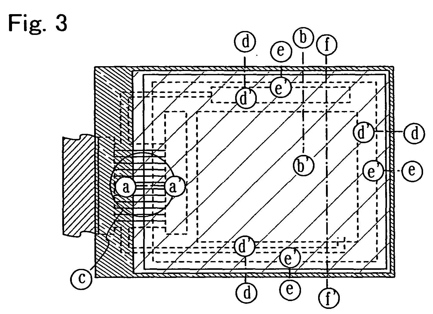
Display device and method for manufacturing the same
授权日
1900-01-01
公开(公告)号
EP1511081A2
申请日
2004-08-19
公开(公告)日
2005-03-02
当前申请(专利权)人
SEMICONDUCTOR ENERGY LABORATORY CO., LTD.
发明人
TSUCHIYA, KAORU | ANZAI, AYA | SAKAKURA, MASAYUKI | NAGAI, MASAHARU | MATSUDA, YUTAKA
简单同族
CN100459184C | CN101483186A | CN101483186B | CN1655370A | EP1511081A2 | EP1511081A3 | EP1511081B1 | KR101158830B1 | KR101260294B1 | KR1020050021963A | KR1020120034687A | TW200518616A | TW201309082A | TW201601586A | TW201724909A | TW201831046A | TW202014050A | TWI407825B | TWI501690B | TWI571168B | TWI619405B | TWI674034B | US10367124 | US20050046346A1 | US20110248313A1 | US20140246694A1 | US20180204988A1 | US20200020835A1 | US7928654 | US8723417 | US9923127
简单同族成员数量
31
简单同族被引用专利总数
128
诉讼案件数
0
法律状态/事件
授权
抱歉,您的浏览器不支持PDF预览,请点击链接下载PDF文件