专利数据库
统计分析
产业报告
专利数据监控
产业人才
行业动态
产业政策法规
维权援助
个人中心
详情
文本
图像
标题
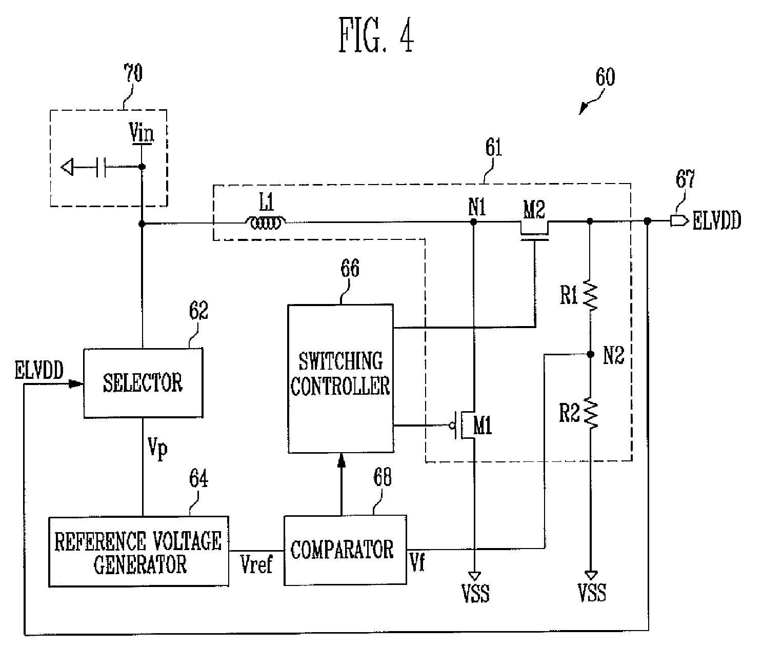
Power generator and organic light emitting display device using the same
授权日
1900-01-01
公开(公告)号
EP2637161A2
申请日
2012-11-09
公开(公告)日
2013-09-11
当前申请(专利权)人
SAMSUNG DISPLAY CO., LTD.
发明人
PARK, SUNG-CHEON
简单同族
EP2637161A2 | EP2637161A3 | KR101965892B1 | KR1020130101303A | TW201337882A | TWI581236B | US20130229402A1 | US9123286
简单同族成员数量
8
简单同族被引用专利总数
463
诉讼案件数
0
法律状态/事件
撤回 | 权利转移
抱歉,您的浏览器不支持PDF预览,请点击链接下载PDF文件