专利数据库
统计分析
产业报告
专利数据监控
产业人才
行业动态
产业政策法规
维权援助
个人中心
详情
文本
图像
标题
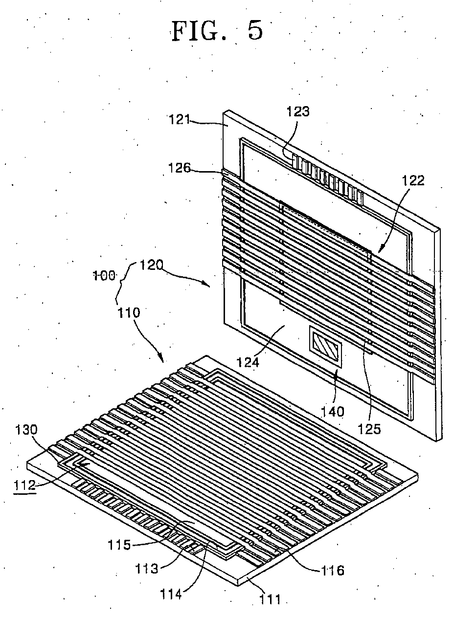
Dual-type organic electroluminescent display device and method for manufacturing the same
授权日
1900-01-01
公开(公告)号
EP1391945A2
申请日
2003-07-23
公开(公告)日
2004-02-25
当前申请(专利权)人
SAMSUNG DISPLAY CO., LTD.
发明人
KIM, HYUNG WOOK | KIM, TAE SEUNG
简单同族
CN100477321C | CN1489422A | EP1391945A2 | EP1391945A3 | EP1391945B1 | JP2004055565A | JP4563006B2 | KR1020040009348A | US20040119407A1 | US7106001
简单同族成员数量
10
简单同族被引用专利总数
51
诉讼案件数
0
法律状态/事件
授权 | 权利转移
抱歉,您的浏览器不支持PDF预览,请点击链接下载PDF文件