专利数据库
统计分析
产业报告
专利数据监控
产业人才
行业动态
产业政策法规
维权援助
个人中心
详情
文本
图像
标题
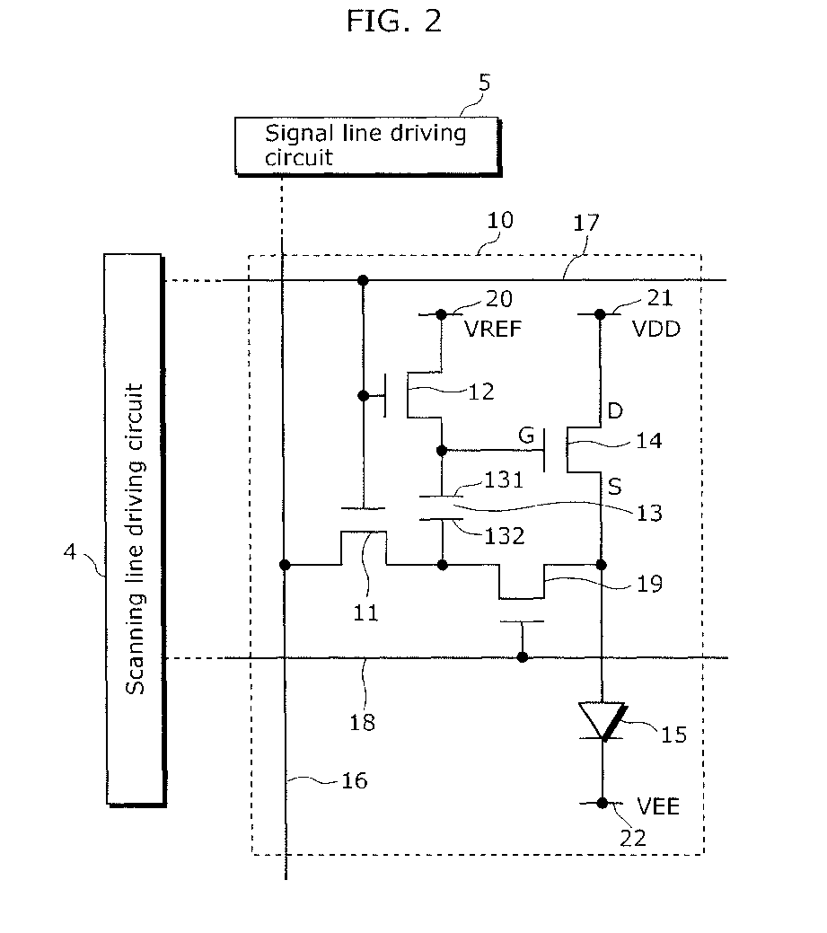
Image display device and method of controlling the same
授权日
1900-01-01
公开(公告)号
EP2226786A1
申请日
2009-10-06
公开(公告)日
2010-09-08
当前申请(专利权)人
JOLED INC.
发明人
ONO, SHINYA
简单同族
CN101842829A | CN101842829B | EP2226786A1 | EP2226786A4 | EP2226786B1 | EP2613305A1 | EP2613305B1 | JP2011164641A | JP2011175274A | JP2011175275A | JP4719821B2 | JP5555656B2 | JPWO2010041426A1 | KR101091439B1 | KR1020100057890A | US20100259531A1 | US20110164024A1 | US20110285760A1 | US8018404 | US8248331 | US8749454 | WO2010041426A1
简单同族成员数量
22
简单同族被引用专利总数
107
诉讼案件数
0
法律状态/事件
授权 | 权利转移
抱歉,您的浏览器不支持PDF预览,请点击链接下载PDF文件