专利数据库
统计分析
产业报告
专利数据监控
产业人才
行业动态
产业政策法规
维权援助
个人中心
详情
文本
图像
标题
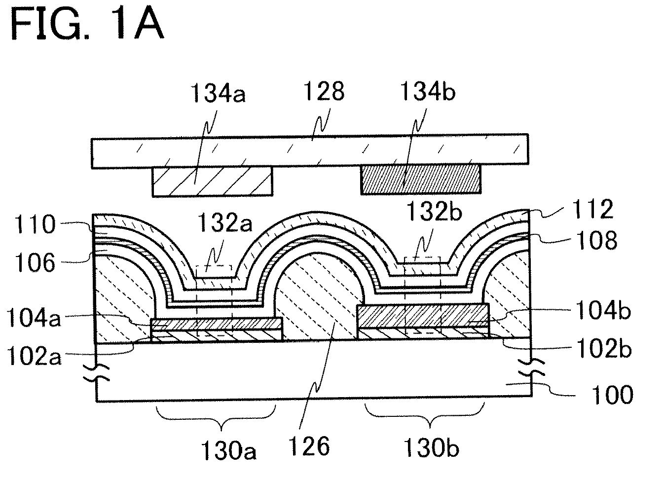
Light-emitting device and display device
授权日
1900-01-01
公开(公告)号
EP2487719A2
申请日
2012-02-13
公开(公告)日
2012-08-15
当前申请(专利权)人
SEMICONDUCTOR ENERGY LABORATORY CO., LTD.
发明人
SEO, SATOSHI | SASAKI, TOSHIKI | OHSAWA, NOBUHARU | USHIKUBO, TAKAHIRO | YAMAZAKI, SHUNPEI
简单同族
CN102637829A | CN102637829B | CN105762167A | CN105762167B | EP2487719A2 | EP2487719A3 | EP2487719B1 | JP2012182126A | JP2012182126A5 | JP2017041453A | JP2019040867A | JP6018762B2 | JP6400649B2 | KR101896458B1 | KR101942840B1 | KR101999238B1 | KR1020120092518A | KR1020180100511A | KR1020190010690A | KR1020190083631A | KR1020190120734A | KR102034076B1 | KR102071546B1 | TW201241745A | TWI608413B | US10461134 | US20120205686A1 | US20150214273A1 | US20170084670A1 | US20180219048A1 | US20200052042A1 | US8957442 | US9461092 | US9935158
简单同族成员数量
34
简单同族被引用专利总数
105
诉讼案件数
0
法律状态/事件
授权
抱歉,您的浏览器不支持PDF预览,请点击链接下载PDF文件