专利数据库
统计分析
产业报告
专利数据监控
产业人才
行业动态
产业政策法规
维权援助
个人中心
详情
文本
图像
标题
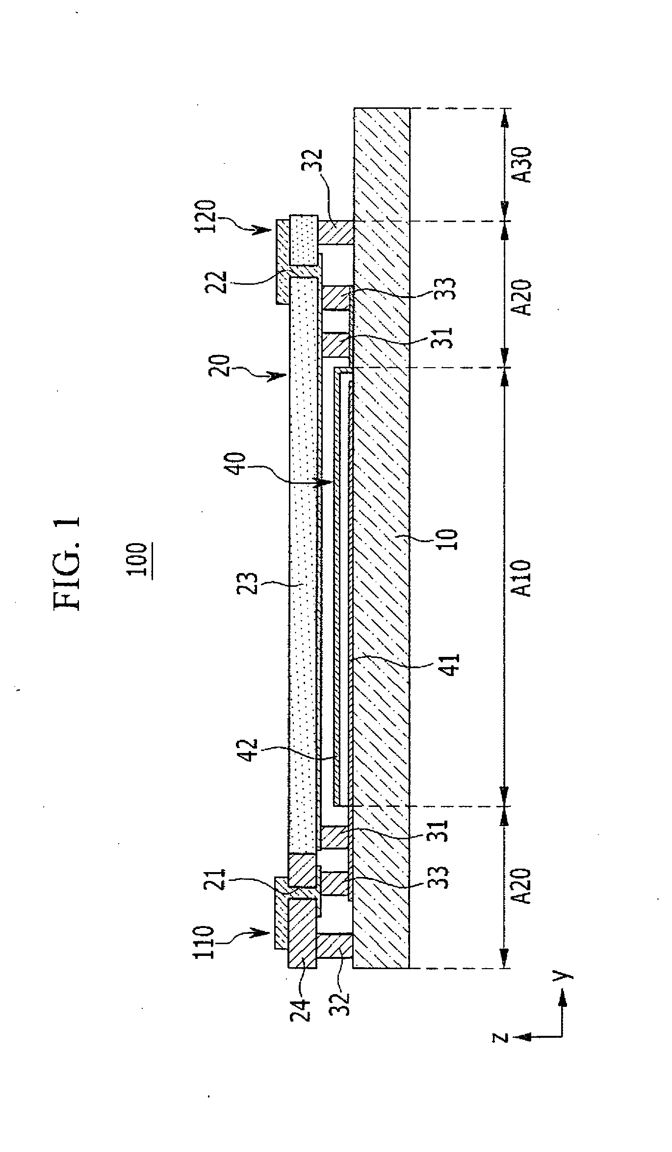
Display device and organic light emitting diode display
授权日
2014-08-27
公开(公告)号
EP2413394B1
申请日
2011-07-27
公开(公告)日
2014-08-27
当前申请(专利权)人
SAMSUNG DISPLAY CO., LTD.
发明人
LEE, CHOONG-HO | NAM, KIE HYUN | LEE, JUNG-MIN
简单同族
CN102347346A | CN102347346B | EP2413394A2 | EP2413394A3 | EP2413394B1 | JP2012032753A | JP5209029B2 | KR101201720B1 | KR1020120011591A | TW201205801A | TWI475683B | US20120026074A1 | US9281494
简单同族成员数量
13
简单同族被引用专利总数
53
诉讼案件数
0
法律状态/事件
授权 | 权利转移
抱歉,您的浏览器不支持PDF预览,请点击链接下载PDF文件