专利数据库
统计分析
产业报告
专利数据监控
产业人才
行业动态
产业政策法规
维权援助
个人中心
详情
文本
图像
标题
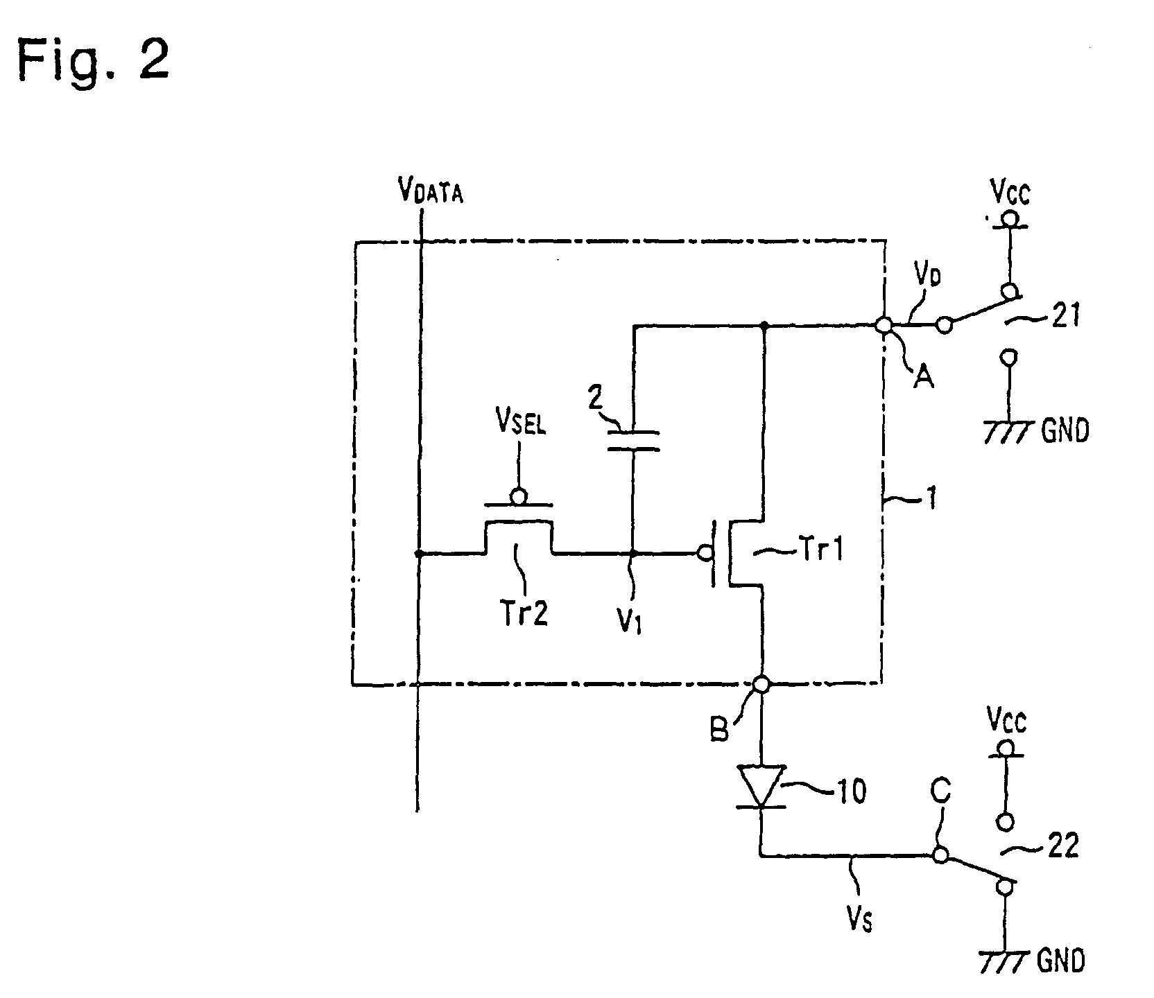
Driving circuit for active matrix type display, drive method of electronic equipment and electronic apparatus, and electronic apparatus
授权日
1900-01-01
公开(公告)号
EP1191512A2
申请日
2001-09-20
公开(公告)日
2002-03-27
当前申请(专利权)人
SEIKO EPSON CORPORATION
发明人
KASAI, TOSHIYUKI
简单同族
CN1172281C | CN1345021A | EP1191512A2 | EP1191512A3 | EP2228783A1 | EP2228783B1 | EP2306444A1 | EP2306444B1 | JP2002169510A | JP2002169510A5 | JP3736399B2 | KR1020020022572A | TW508553B | US20020047839A1 | US20040233143A1 | US6750833 | US7091939
简单同族成员数量
17
简单同族被引用专利总数
375
诉讼案件数
0
法律状态/事件
撤回
抱歉,您的浏览器不支持PDF预览,请点击链接下载PDF文件