专利数据库
统计分析
产业报告
专利数据监控
产业人才
行业动态
产业政策法规
维权援助
个人中心
详情
文本
图像
标题
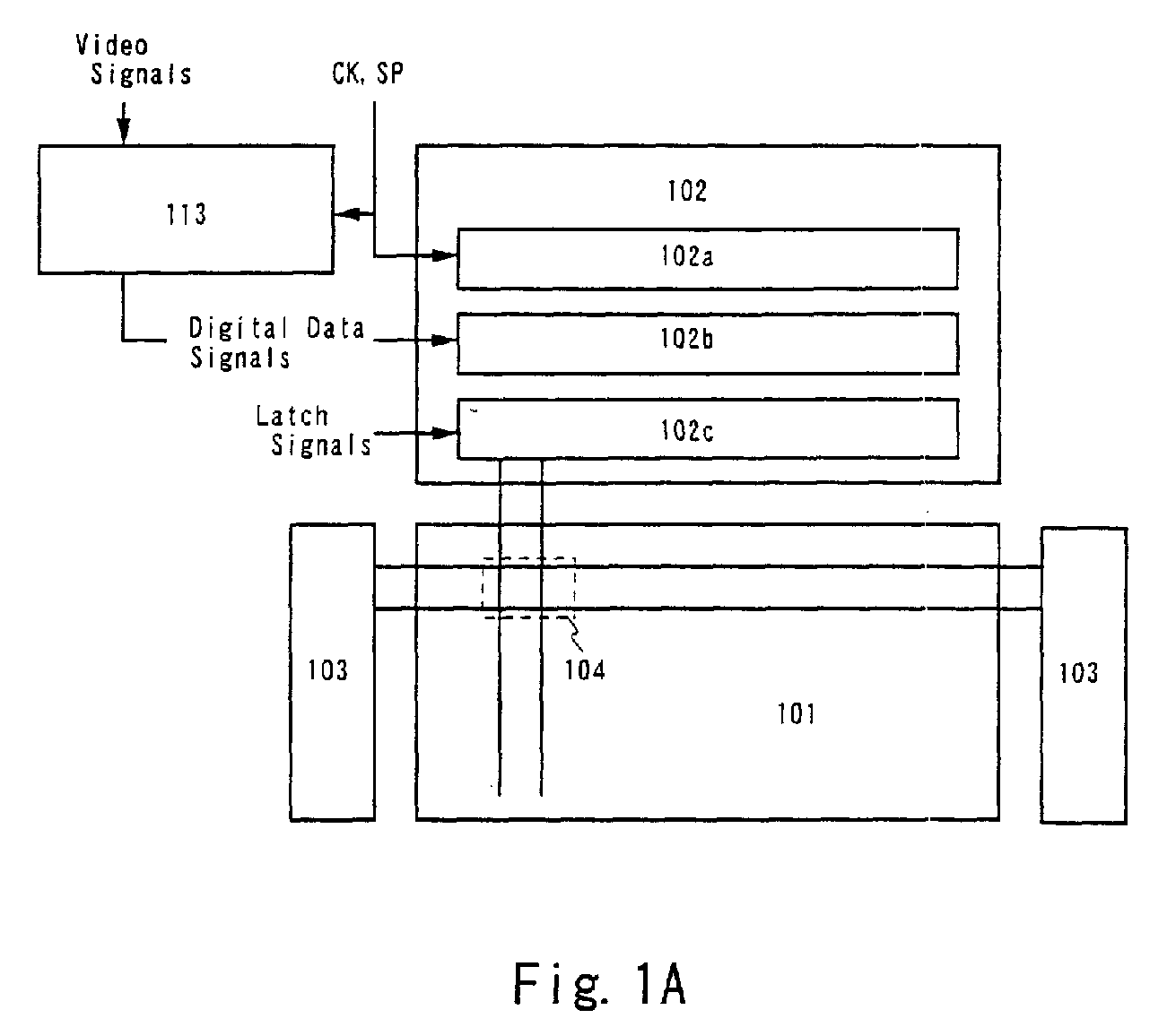
EL display device and electronic apparatus
授权日
1900-01-01
公开(公告)号
EP1103947A3
申请日
2000-11-29
公开(公告)日
2007-10-31
当前申请(专利权)人
SEL SEMICONDUCTOR ENERGY LABORATORY CO., LTD.
发明人
INUKAI, KAZUTAKA | KOYAMA, JUN
简单同族
CN1252665C | CN1298168A | EP1103947A2 | EP1103947A3 | EP2256718A2 | JP2001222240A | JP2001222240A5 | JP4727029B2 | KR100693767B1 | KR1020010052008A | TW483178B | US20040164684A1 | US6680577 | US7061186
简单同族成员数量
14
简单同族被引用专利总数
330
诉讼案件数
0
法律状态/事件
撤回
抱歉,您的浏览器不支持PDF预览,请点击链接下载PDF文件