专利数据库
统计分析
产业报告
专利数据监控
产业人才
行业动态
产业政策法规
维权援助
个人中心
详情
文本
图像
标题
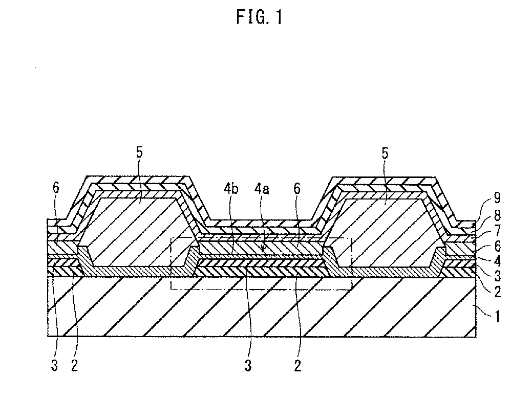
Light-emitting element, display device, and method for manufacturing light-emitting element
授权日
1900-01-01
公开(公告)号
EP2398083A1
申请日
2010-02-09
公开(公告)日
2011-12-21
当前申请(专利权)人
JOLED INC.
发明人
HARADA, KENJI, C/O PANASONIC CORPORATION IPROC | TAKEUCHI, TAKAYUKI, C/O PANASONIC CORPORATION | NISHIYAMA, SEIJI, C/O PANASONIC CORPORATION IPROC | KOMATSU, TAKAHIRO, C/O PANASONIC CORPORATION IPROC
简单同族
CN102308404A | CN102308404B | CN102308405A | CN102308405B | CN103646959A | CN103646959B | EP2398083A1 | EP2398083A4 | EP2398083B1 | EP2398085A1 | EP2398085A4 | EP2398085B1 | JP2014146824A | JP2014160834A | JP5513414B2 | JP5513415B2 | JP5904471B2 | JP5904472B2 | JPWO2010092795A1 | JPWO2010092797A1 | KR101581989B1 | KR101643018B1 | KR1020110124215A | KR1020110124216A | US20110291087A1 | US20110291128A1 | US8890173 | US8890174 | WO2010092795A1 | WO2010092797A1
简单同族成员数量
30
简单同族被引用专利总数
70
诉讼案件数
0
法律状态/事件
授权 | 权利转移
抱歉,您的浏览器不支持PDF预览,请点击链接下载PDF文件