专利数据库
统计分析
产业报告
专利数据监控
产业人才
行业动态
产业政策法规
维权援助
个人中心
详情
文本
图像
标题
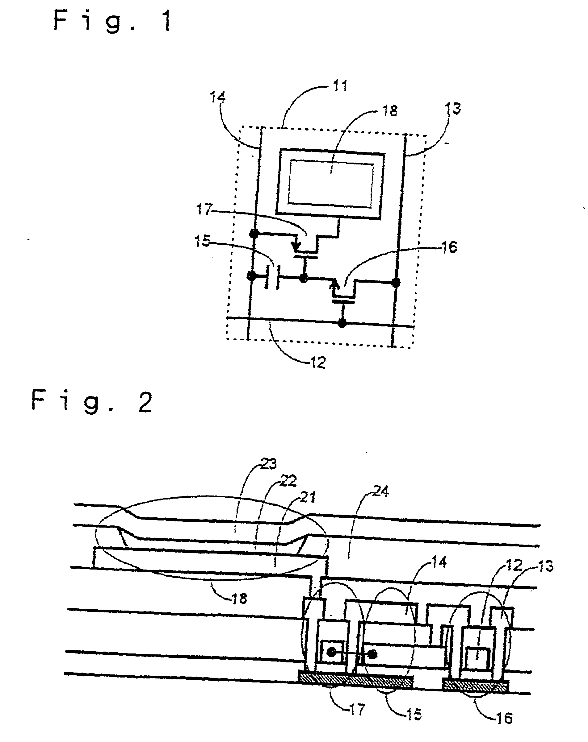
Organic electroluminescent display device
授权日
2003-08-20
公开(公告)号
EP1024472B1
申请日
2000-01-18
公开(公告)日
2003-08-20
当前申请(专利权)人
SEIKO EPSON CORPORATION
发明人
KIMURA, MUTSUMI
简单同族
CN1123799C | CN1263279A | DE60004574D1 | DE60004574T2 | EP1024472A2 | EP1024472A3 | EP1024472B1 | EP1288903A2 | EP1288903A3 | JP2000284727A | JP2000284727A5 | JP4092827B2 | KR100467905B1 | KR100664450B1 | KR1020000052429A | KR1020000053629A | TW507185B | US20020011793A1 | US20020105280A1 | US20020195969A1 | US6225750 | US6388389 | US6469450 | US6642665
简单同族成员数量
24
简单同族被引用专利总数
115
诉讼案件数
0
法律状态/事件
期限届满
抱歉,您的浏览器不支持PDF预览,请点击链接下载PDF文件