专利数据库
统计分析
产业报告
专利数据监控
产业人才
行业动态
产业政策法规
维权援助
个人中心
详情
文本
图像
标题
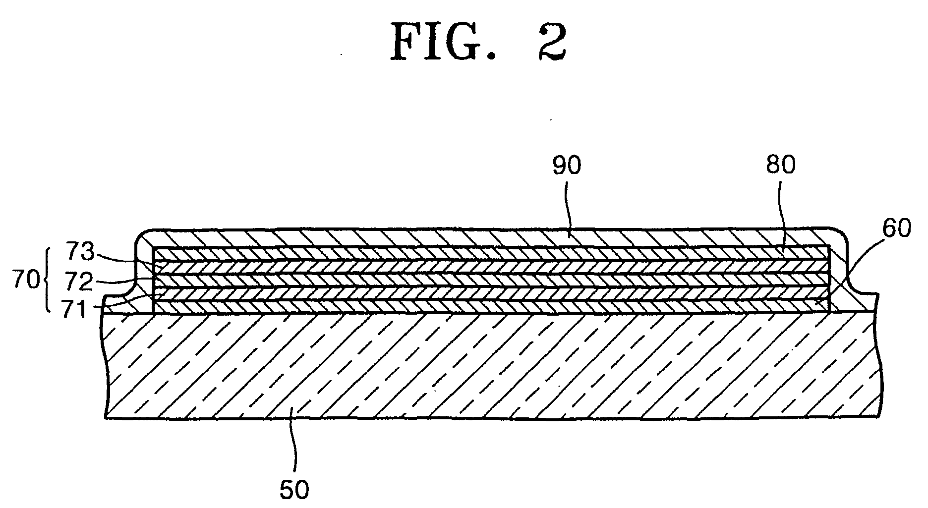
Organic electroluminescent display device
授权日
1900-01-01
公开(公告)号
EP1324405A2
申请日
2002-05-23
公开(公告)日
2003-07-02
当前申请(专利权)人
SAMSUNG DISPLAY CO., LTD.
发明人
LEE, JOON-BAE | PARK, JIN-WOO | PARK, CHANG-WON, 421-901, CHEONGMYUNGMAEUL 4DANJI | SHIN, DONG-CHAN, 302-304, SHINYOUNGTONG
简单同族
CN100392888C | CN1429052A | EP1324405A2 | EP1324405A3 | EP1324405B1 | EP2273576A1 | EP2273576B1 | EP2278638A1 | EP2278638B1 | JP2003197368A | JP2010108949A | KR100472502B1 | KR1020030054707A | US20030117071A1 | US6815887
简单同族成员数量
15
简单同族被引用专利总数
131
诉讼案件数
0
法律状态/事件
授权 | 权利转移
抱歉,您的浏览器不支持PDF预览,请点击链接下载PDF文件