专利数据库
统计分析
产业报告
专利数据监控
产业人才
行业动态
产业政策法规
维权援助
个人中心
详情
文本
图像
标题
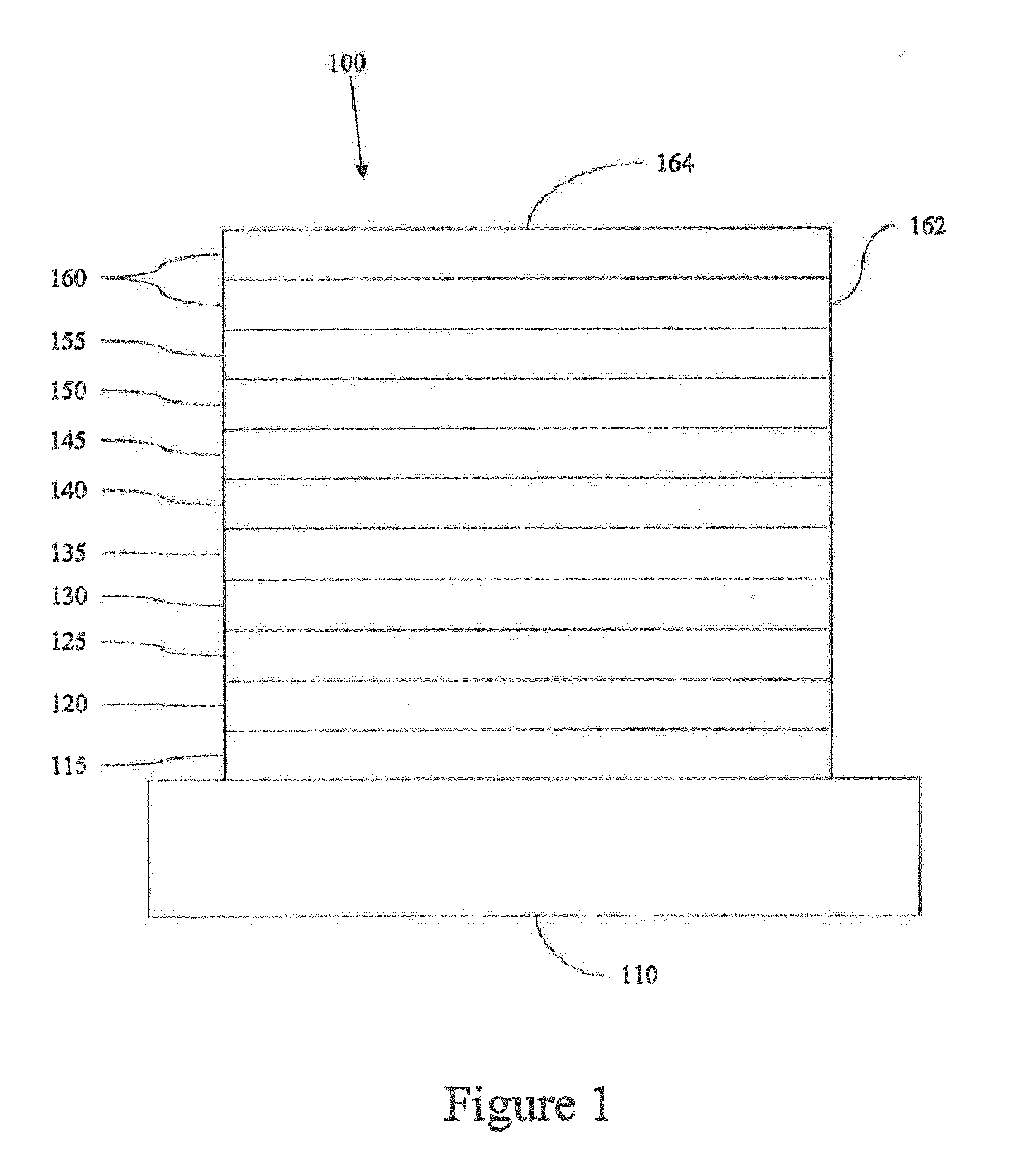
Organoselenium materials and their uses in organic light emitting devices
授权日
1900-01-01
公开(公告)号
EP3185333A2
申请日
2009-09-24
公开(公告)日
2017-06-28
当前申请(专利权)人
UNIVERSAL DISPLAY CORPORATION
发明人
XIA, CHUANJUN | KWONG, RAYMOND | MA, BIN | LIN, CHUN
简单同族
CN102160206A | CN102160206B | CN103094490A | CN103094490B | EP2329540A1 | EP2329540B1 | EP3185333A2 | EP3185333A3 | JP2012503889A | JP2015119186A | JP2017098556A | JP5676454B2 | JP6067668B2 | JP6506243B2 | KR101678235B1 | KR101804084B1 | KR1020110071061A | KR1020160078526A | TW201022224A | TW201522324A | TW201538493A | TWI504596B | TWI541237B | TWI628173B | US20100072887A1 | US20130168660A1 | US20150155499A1 | US8426035 | US8945727 | US9455411 | WO2010036765A1
简单同族成员数量
31
简单同族被引用专利总数
85
诉讼案件数
0
法律状态/事件
实质审查 | 权利转移
抱歉,您的浏览器不支持PDF预览,请点击链接下载PDF文件