专利数据库
统计分析
产业报告
专利数据监控
产业人才
行业动态
产业政策法规
维权援助
个人中心
详情
文本
图像
标题
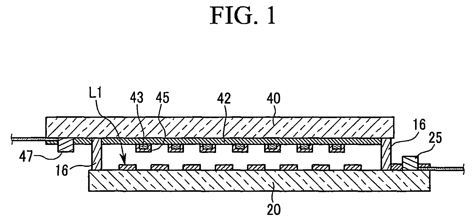
Organic light emitting diode display.
授权日
1900-01-01
公开(公告)号
EP2144293A2
申请日
2009-07-08
公开(公告)日
2010-01-13
当前申请(专利权)人
SAMSUNG DISPLAY CO., LTD.
发明人
KIM, EUN-AH
简单同族
CN101625814A | CN101625814B | EP2144293A2 | EP2144293A3 | EP2144293B1 | JP2010021514A | JP4940226B2 | KR100953655B1 | KR1020100005952A | US20100007268A1 | US7986092
简单同族成员数量
11
简单同族被引用专利总数
51
诉讼案件数
0
法律状态/事件
授权 | 权利转移
抱歉,您的浏览器不支持PDF预览,请点击链接下载PDF文件