专利数据库
统计分析
产业报告
专利数据监控
产业人才
行业动态
产业政策法规
维权援助
个人中心
详情
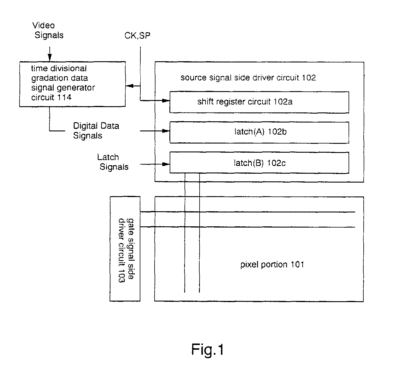
文本
图像
标题
Electroluminescent display device
授权日
1900-01-01
公开(公告)号
EP1098290A2
申请日
2000-11-07
公开(公告)日
2001-05-09
当前申请(专利权)人
SEMICONDUCTOR ENERGY LABORATORY CO., LTD.
发明人
YAMAZAKI, SHUNPEI | KOYAMA, JUN
简单同族
CN1244896C | CN1303084A | EP1098290A2 | EP1098290A3 | EP1098290B1 | KR100786545B1 | KR1020010082546A | TW484117B | US6765549
简单同族成员数量
9
简单同族被引用专利总数
172
诉讼案件数
0
法律状态/事件
权利终止
抱歉,您的浏览器不支持PDF预览,请点击链接下载PDF文件