专利数据库
统计分析
产业报告
专利数据监控
产业人才
行业动态
产业政策法规
维权援助
个人中心
详情
文本
图像
标题
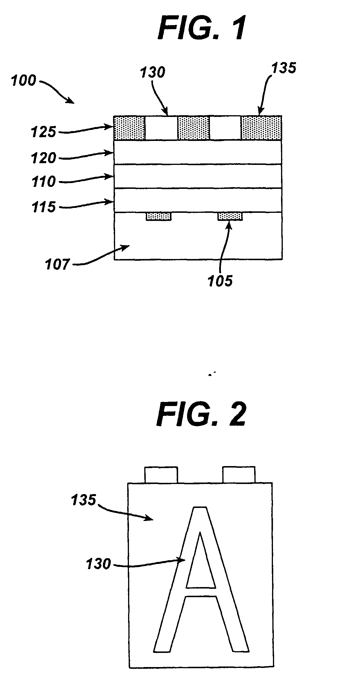
Outdoor electroluminescent display devices
授权日
2009-01-07
公开(公告)号
EP1164817B1
申请日
2001-06-08
公开(公告)日
2009-01-07
当前申请(专利权)人
GENERAL ELECTRIC COMPANY
发明人
DUGGAL, ANIL RAJ | TURNER, LARRY GENE
简单同族
DE60137284D1 | EP1164817A2 | EP1164817A3 | EP1164817B1 | JP2002117970A | JP2002117970A5 | TWI221748B | US6501218
简单同族成员数量
8
简单同族被引用专利总数
69
诉讼案件数
0
法律状态/事件
授权
抱歉,您的浏览器不支持PDF预览,请点击链接下载PDF文件