专利数据库
统计分析
产业报告
专利数据监控
产业人才
行业动态
产业政策法规
维权援助
个人中心
详情
文本
图像
标题
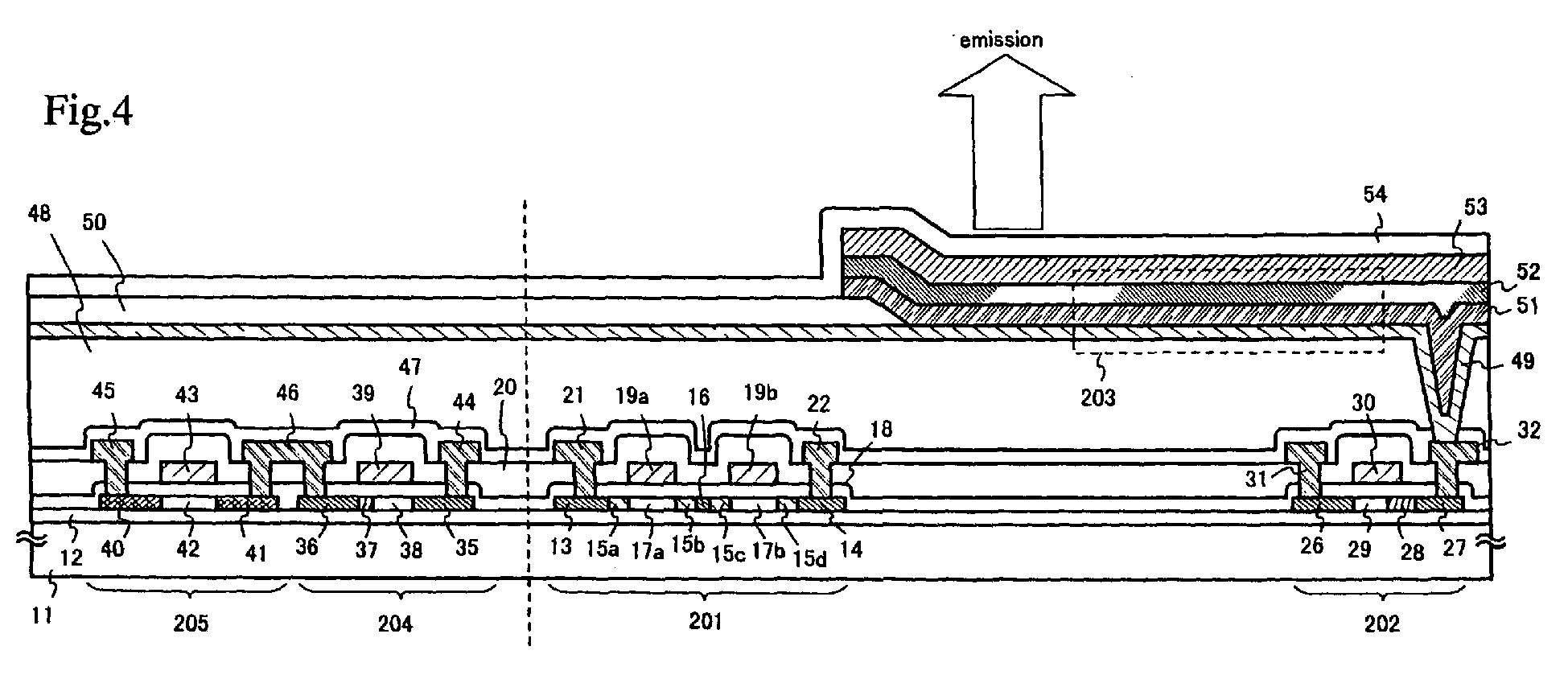
Electroluminescent display device and driving method thereof
授权日
1900-01-01
公开(公告)号
EP1713054A2
申请日
2000-09-22
公开(公告)日
2006-10-18
当前申请(专利权)人
SEMICONDUCTOR ENERGY LABORATORY CO., LTD.
发明人
KOYAMA, JUN C/O SEMICONDUCTOR ENERGY LAB. CO. LTD.
简单同族
CN100539164C | CN101083271A | CN1290041A | CN1331242C | DE60029890D1 | DE60029890T2 | EP1087366A2 | EP1087366A3 | EP1087366B1 | EP1713054A2 | EP1713054A3 | EP1713054B1 | EP2306442A1 | EP2306442B1 | JP2011123491A | JP2012133373A | JP4940346B2 | JP5288658B2 | KR100678875B1 | KR1020010050612A | TW540251B | US20030117083A1 | US6501227 | US6700330
简单同族成员数量
24
简单同族被引用专利总数
256
诉讼案件数
0
法律状态/事件
权利终止
抱歉,您的浏览器不支持PDF预览,请点击链接下载PDF文件