专利数据库
统计分析
产业报告
专利数据监控
产业人才
行业动态
产业政策法规
维权援助
个人中心
详情
文本
图像
标题
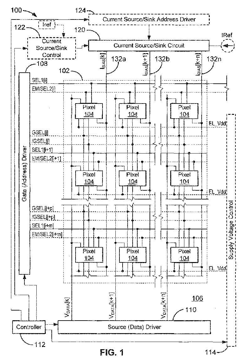
Efficient programming and fast calibration schemes for light-emitting displays and stable current source/sinks for the same
授权日
1900-01-01
公开(公告)号
EP2509062A1
申请日
2010-11-12
公开(公告)日
2012-10-10
当前申请(专利权)人
IGNIS INNOVATION INC.
发明人
CHAJI, GHOLAMREZA | NATHAN, AROKIA | LAI, JACKSON, CHI SUN
简单同族
CN102656621A | CN102656621B | EP2499633A1 | EP2499633A4 | EP2506242A2 | EP2506242A3 | EP2509062A1 | JP2013511061A | JP2013511061A5 | JP2016167074A | JP6488254B2 | US10685627 | US20110109299A1 | US20110109350A1 | US20110109612A1 | US20140104325A1 | US20150302828A1 | US20180040300A1 | US8283967 | US8497828 | US8633873 | US9030506 | US9818376 | WO2011058428A1
简单同族成员数量
24
简单同族被引用专利总数
174
诉讼案件数
0
法律状态/事件
驳回
抱歉,您的浏览器不支持PDF预览,请点击链接下载PDF文件