专利数据库
统计分析
产业报告
专利数据监控
产业人才
行业动态
产业政策法规
维权援助
个人中心
详情
文本
图像
标题
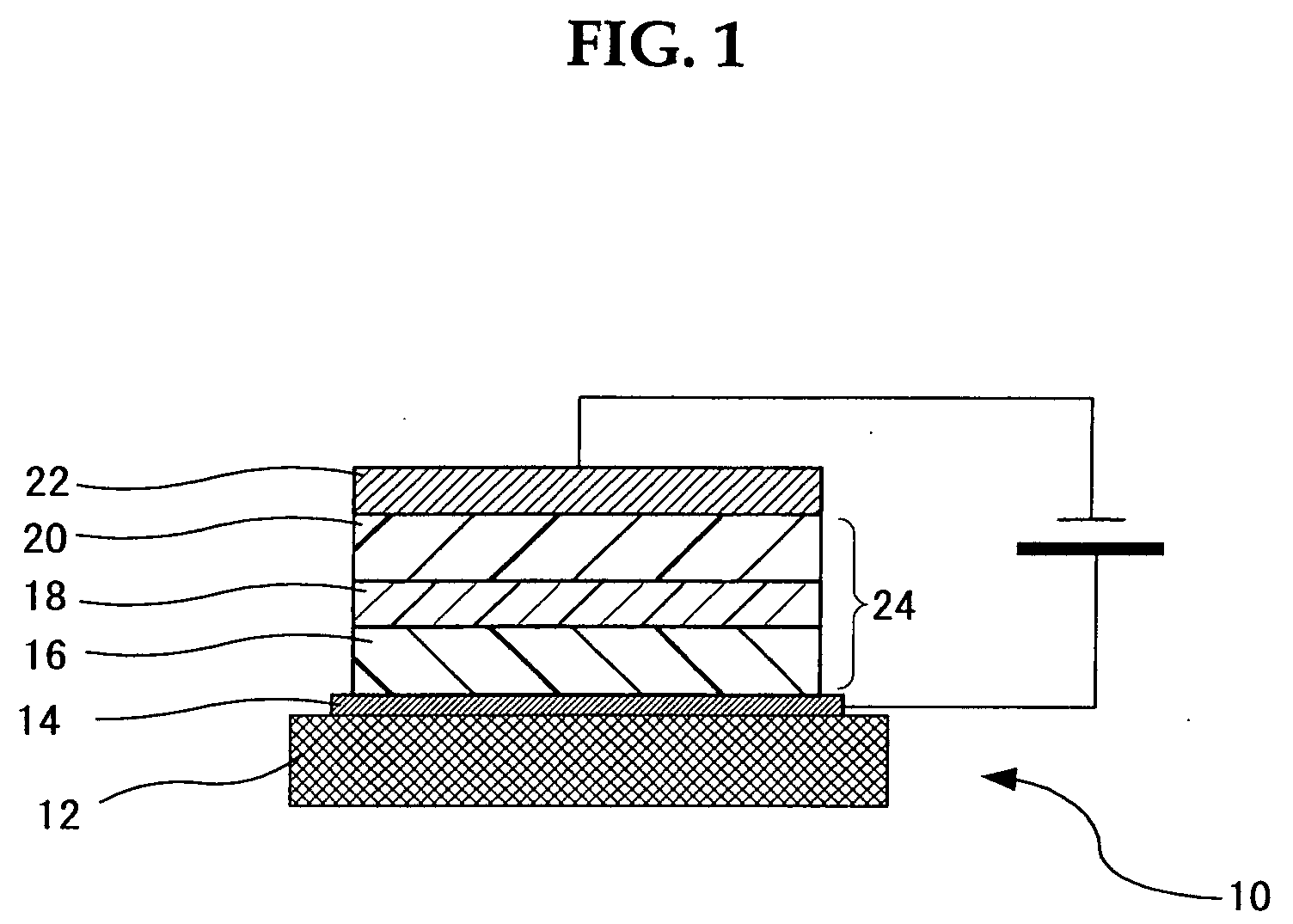
1,3,6,8 tetrasubstituted pyrene compound, organic el element using the same, and organic el display using the same
授权日
1900-01-01
公开(公告)号
EP1403354A1
申请日
2003-08-08
公开(公告)日
2004-03-31
当前申请(专利权)人
UDC IRELAND LIMITED
发明人
SOTOYAMA, WATARU | SATO, HIROYUKI | MATSUURA, AZUMA | NARUSAWA, TOSHIAKI
简单同族
CN1321104C | CN1487778A | EP1403354A1 | EP1403354B1 | JP2004083507A | JP4060669B2 | KR100965811B1 | KR1020040019885A | TW200405763A | TWI252056B | US20040053069A1
简单同族成员数量
11
简单同族被引用专利总数
62
诉讼案件数
0
法律状态/事件
授权 | 权利转移
抱歉,您的浏览器不支持PDF预览,请点击链接下载PDF文件