专利数据库
统计分析
产业报告
专利数据监控
产业人才
行业动态
产业政策法规
维权援助
个人中心
详情
文本
图像
标题
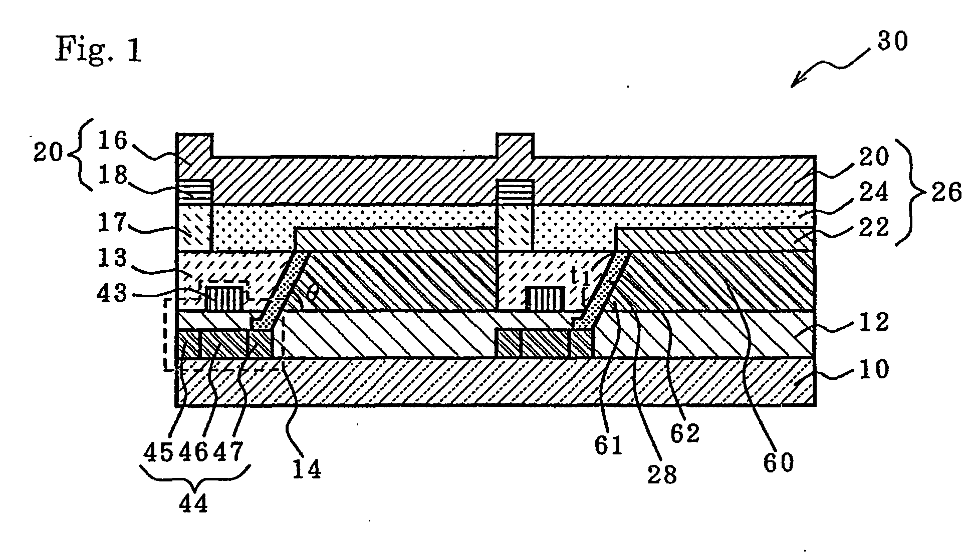
Active-drive organic el display and method for manufacturing the same
授权日
1900-01-01
公开(公告)号
EP1178709A1
申请日
2001-03-05
公开(公告)日
2002-02-06
当前申请(专利权)人
IDEMITSU KOSAN CO., LTD.
发明人
EIDA, MITSURU
简单同族
CN1170458C | CN1364396A | EP1178709A1 | EP1178709A4 | JP4608170B2 | JPWO2001067824A1 | KR100851156B1 | KR1020020001864A | KR1020080056776A | TWI245577B | US20050110716A1 | US20050218819A1 | US6995736 | US7227518 | WO2001067824A1
简单同族成员数量
15
简单同族被引用专利总数
87
诉讼案件数
0
法律状态/事件
撤回
抱歉,您的浏览器不支持PDF预览,请点击链接下载PDF文件