专利数据库
统计分析
产业报告
专利数据监控
产业人才
行业动态
产业政策法规
维权援助
个人中心
详情
文本
图像
标题
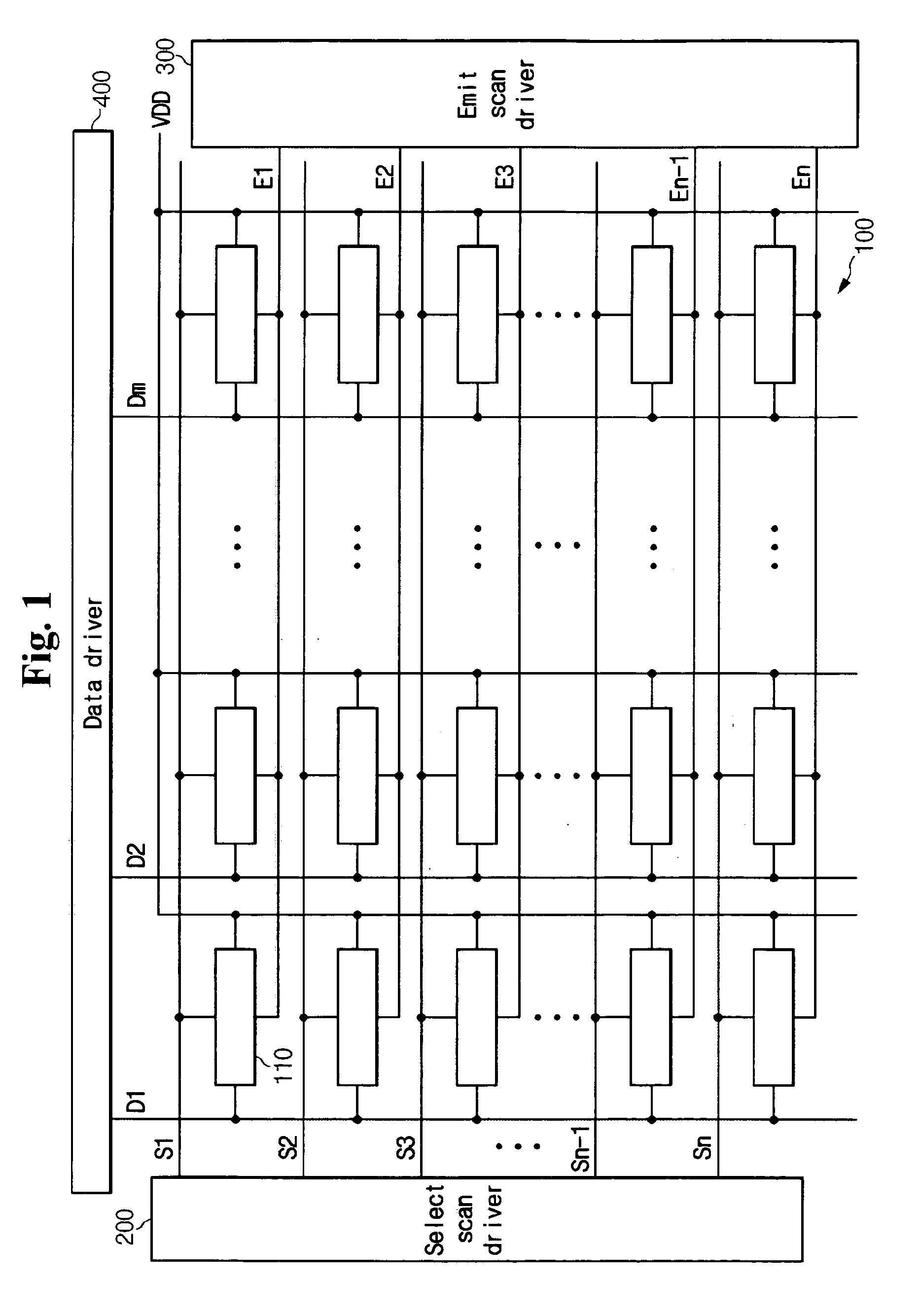
Colour display with time-divisionally driving of subpixels
授权日
2008-11-05
公开(公告)号
EP1577871B1
申请日
2005-01-27
公开(公告)日
2008-11-05
当前申请(专利权)人
SAMSUNG SDI CO., LTD.
发明人
KWAK, WON-KYU, LEGAL & IP TEAM, SAMSUNG SDI CO.,
简单同族
CN100474373C | CN1670800A | DE602005010771D1 | EP1577871A1 | EP1577871B1 | JP2005266770A | JP4102368B2 | KR100560446B1 | KR1020050092208A | US20050200573A1 | US7768482
简单同族成员数量
11
简单同族被引用专利总数
48
诉讼案件数
0
法律状态/事件
授权
抱歉,您的浏览器不支持PDF预览,请点击链接下载PDF文件