专利数据库
统计分析
产业报告
专利数据监控
产业人才
行业动态
产业政策法规
维权援助
个人中心
详情
文本
图像
标题
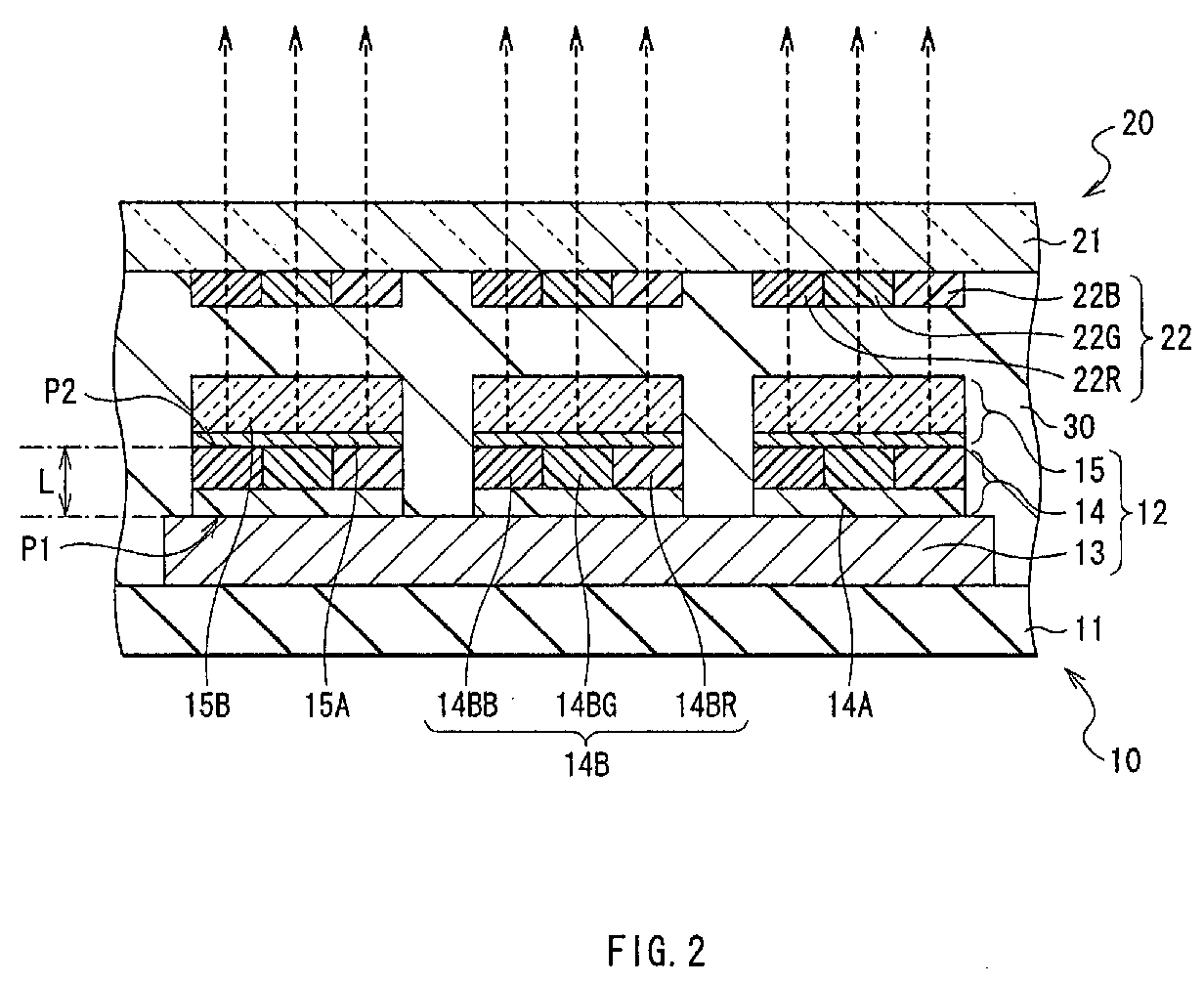
Light emitting device and display unit using it
授权日
1900-01-01
公开(公告)号
EP1424732A2
申请日
2003-11-24
公开(公告)日
2004-06-02
当前申请(专利权)人
SONY CORPORATION
发明人
NISHIMURA, TEIICHIRO | NISHIGUCHI, MASAO | KAGAMI, KEIICHI | YAMADA, JIRO
简单同族
CN100367529C | CN1523940A | EP1424732A2 | EP1424732A3 | JP2004178930A | KR1020040047638A | TW200425772A | TWI284004B | US20040160154A1 | US6993214
简单同族成员数量
10
简单同族被引用专利总数
74
诉讼案件数
0
法律状态/事件
撤回
抱歉,您的浏览器不支持PDF预览,请点击链接下载PDF文件