专利数据库
统计分析
产业报告
专利数据监控
产业人才
行业动态
产业政策法规
维权援助
个人中心
详情
文本
图像
标题
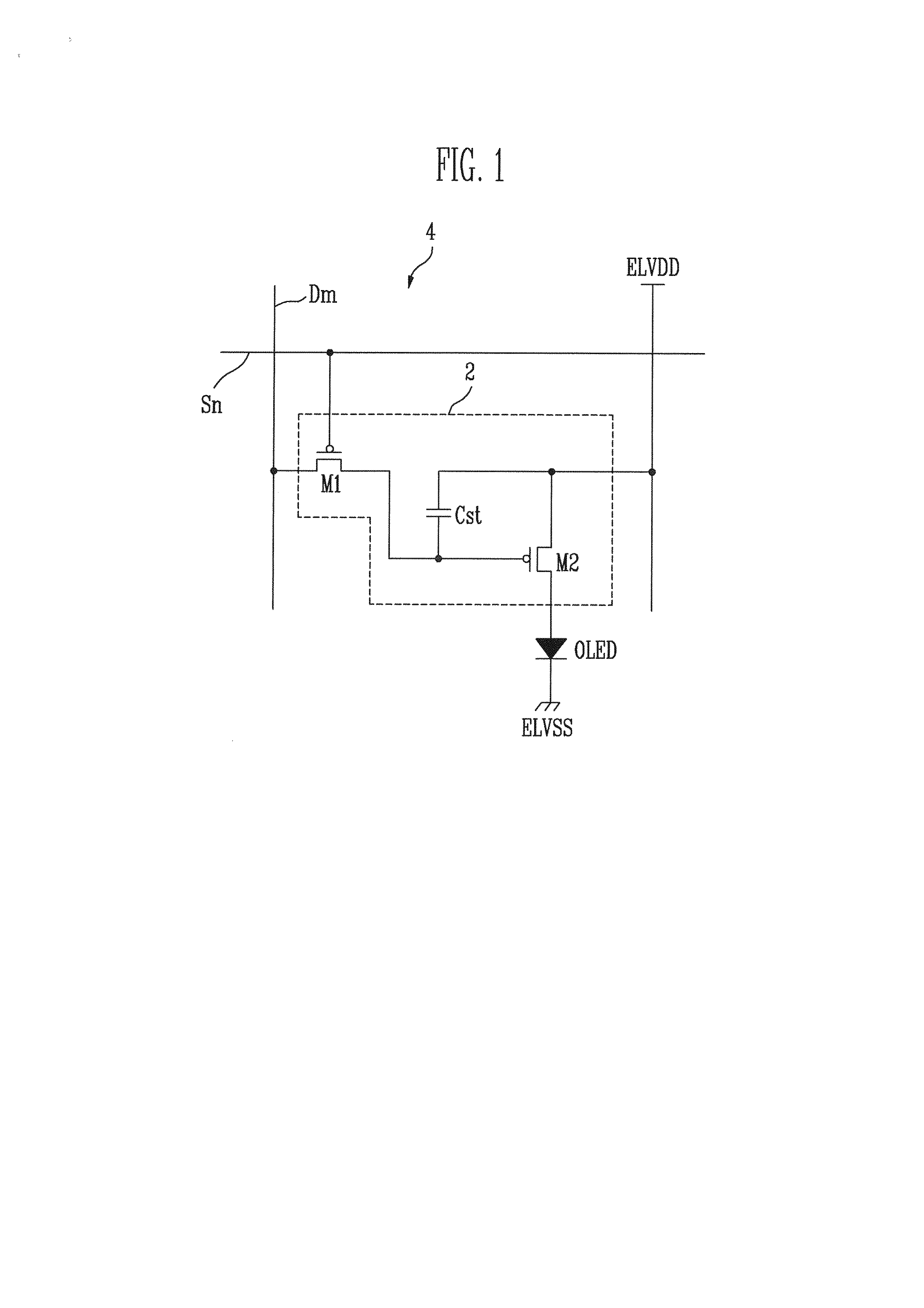
Error compensator and organic light emitting display device using the same
授权日
1900-01-01
公开(公告)号
EP3079143A1
申请日
2013-09-26
公开(公告)日
2016-10-12
当前申请(专利权)人
SAMSUNG DISPLAY CO., LTD.
发明人
KIM, BO-YEON | KWON, OH-JO | AHN, HEE-SUN
简单同族
CN103854602A | CN103854602B | EP2738757A1 | EP2738757B1 | EP3079143A1 | EP3079143B1 | JP2014109775A | KR102005052B1 | KR1020140071097A | TW201423701A | US20140152642A1 | US9424770
简单同族成员数量
12
简单同族被引用专利总数
95
诉讼案件数
0
法律状态/事件
授权
抱歉,您的浏览器不支持PDF预览,请点击链接下载PDF文件