专利数据库
统计分析
产业报告
专利数据监控
产业人才
行业动态
产业政策法规
维权援助
个人中心
详情
文本
图像
标题
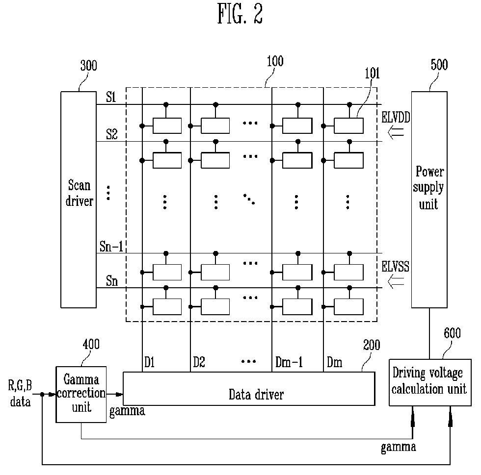
Organic light emitting display and driving method thereof
授权日
1900-01-01
公开(公告)号
EP2085956A1
申请日
2009-01-30
公开(公告)日
2009-08-05
当前申请(专利权)人
SAMSUNG DISPLAY CO., LTD.
发明人
LEE, DUK-JIN | LEE, JEONG-NO | KWAK, NOH-MIN | JUNG, WOO-SUK | YOO, GI-NA | KIM, MIN-JAE
简单同族
CN101499485A | EP2085956A1 | JP2009186978A | JP5377913B2 | KR1020090084444A | US20090195484A1 | US8633877
简单同族成员数量
7
简单同族被引用专利总数
48
诉讼案件数
0
法律状态/事件
驳回 | 权利转移
抱歉,您的浏览器不支持PDF预览,请点击链接下载PDF文件