专利数据库
统计分析
产业报告
专利数据监控
产业人才
行业动态
产业政策法规
维权援助
个人中心
详情
文本
图像
标题
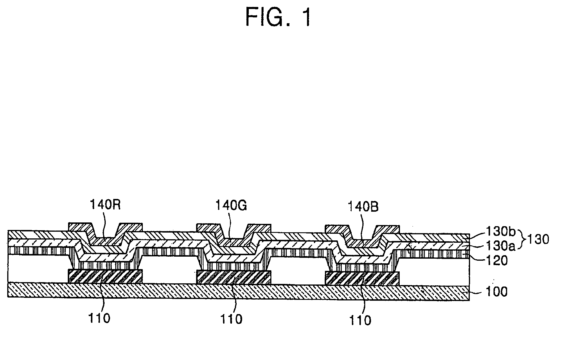
Organic light emitting diode display device and method of fabricating the same
授权日
1900-01-01
公开(公告)号
EP1939954A2
申请日
2007-12-28
公开(公告)日
2008-07-02
当前申请(专利权)人
SAMSUNG DISPLAY CO., LTD.
发明人
SUNG, YEUN-JOO | KHO, SAM-IL | YOO, BYEONG-WOOK
简单同族
CN101212025A | CN101212025B | EP1939954A2 | EP1939954A3 | EP1939954B1 | JP2008166283A | JP4608538B2 | KR100864882B1 | KR1020080061732A | US20080157663A1 | US8188649
简单同族成员数量
11
简单同族被引用专利总数
80
诉讼案件数
0
法律状态/事件
授权 | 权利转移
抱歉,您的浏览器不支持PDF预览,请点击链接下载PDF文件