专利数据库
统计分析
产业报告
专利数据监控
产业人才
行业动态
产业政策法规
维权援助
个人中心
详情
文本
图像
标题
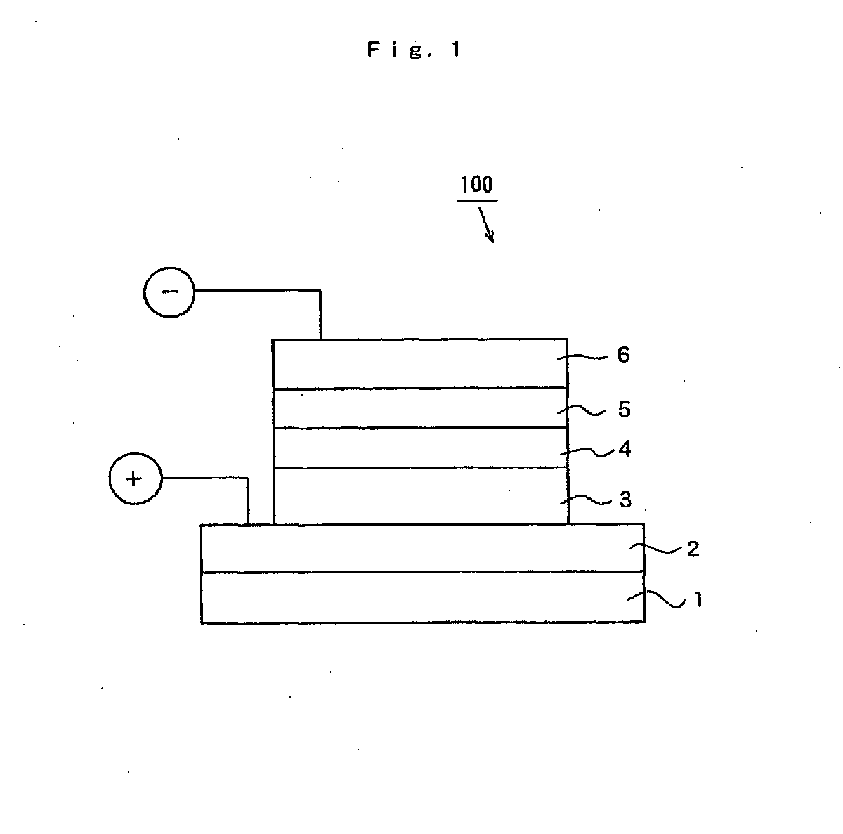
Organic electroluminescence device and luminance material
授权日
1900-01-01
公开(公告)号
EP1405893A1
申请日
2002-06-04
公开(公告)日
2004-04-07
当前申请(专利权)人
SANYO ELECTRIC CO., LTD.
发明人
HAMADA, YUJI, C/O SANYO ELECTRIC CO., LTD. | TSUJIOKA, TSUYOSHI
简单同族
EP1405893A1 | EP1405893A4 | JP2003055652A | JP4036682B2 | KR1020030036669A | US20050079381A1 | US7598666 | WO2002100977A1
简单同族成员数量
8
简单同族被引用专利总数
78
诉讼案件数
0
法律状态/事件
撤回
抱歉,您的浏览器不支持PDF预览,请点击链接下载PDF文件