专利数据库
统计分析
产业报告
专利数据监控
产业人才
行业动态
产业政策法规
维权援助
个人中心
详情
文本
图像
标题
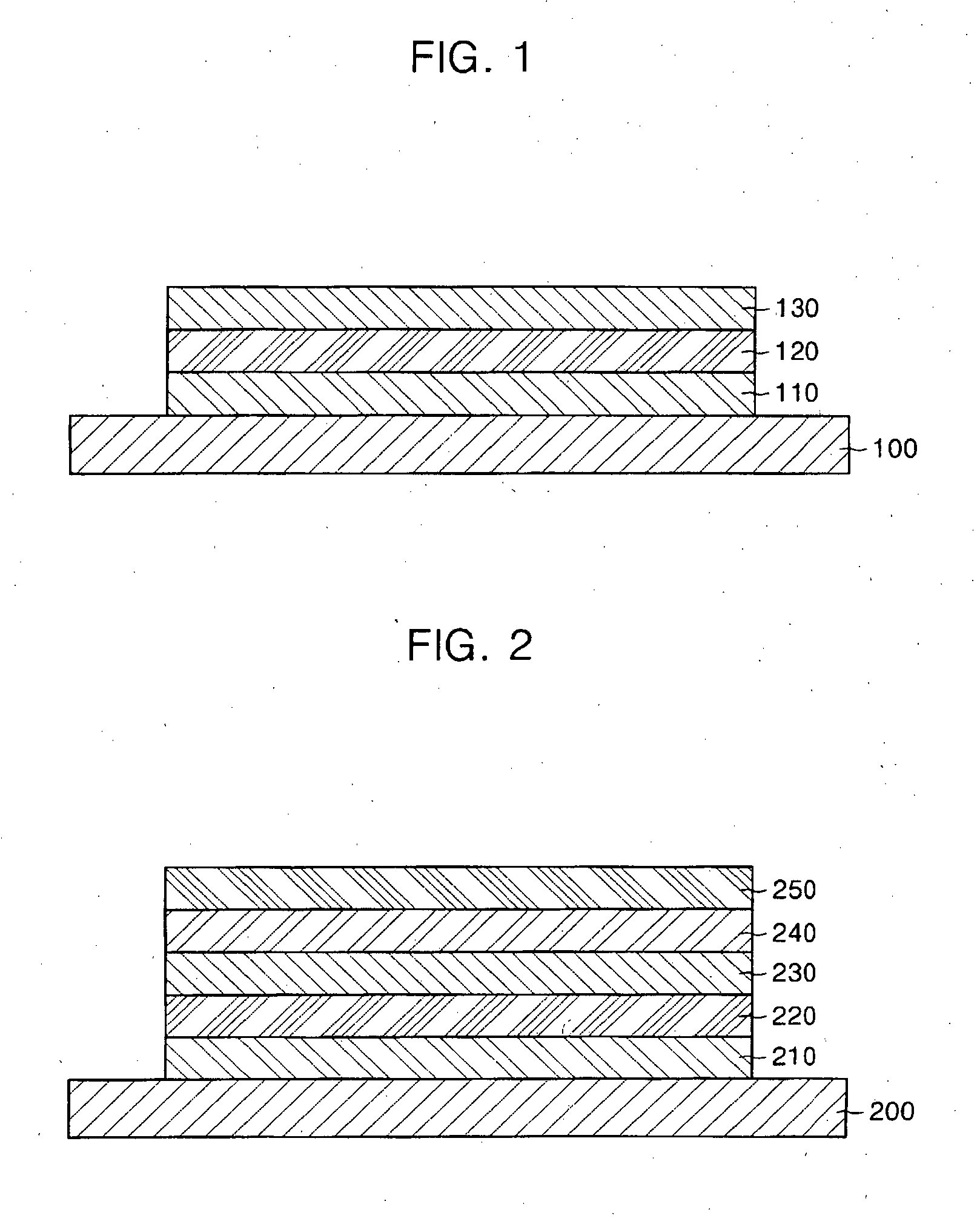
Organic light emitting display device and method of fabricating the same
授权日
2014-06-11
公开(公告)号
EP1936715B1
申请日
2007-12-21
公开(公告)日
2014-06-11
当前申请(专利权)人
SAMSUNG DISPLAY CO., LTD.
发明人
JEONG, HEE-SEONG SAMSUNG SDI CO., LTD. | KHO, SAM-IL SAMSUNG SDI CO., LTD. | YOO, BYEONG-WOOK SAMSUNG SDI CO., LTD. | LEE, SEONG-TAEK SAMSUNG SDI CO., LTD. | OH, JUN-SIK SAMSUNG SDI CO., LTD. | KIM, GUN-SHIK SAMSUNG SDI CO., LTD.
简单同族
CN101207184A | CN101207184B | EP1936715A1 | EP1936715B1 | JP2008159582A | JP5126828B2 | KR100796615B1 | US20080241561A1 | US7955709
简单同族成员数量
9
简单同族被引用专利总数
48
诉讼案件数
0
法律状态/事件
授权 | 权利转移
抱歉,您的浏览器不支持PDF预览,请点击链接下载PDF文件