专利数据库
统计分析
产业报告
专利数据监控
产业人才
行业动态
产业政策法规
维权援助
个人中心
详情
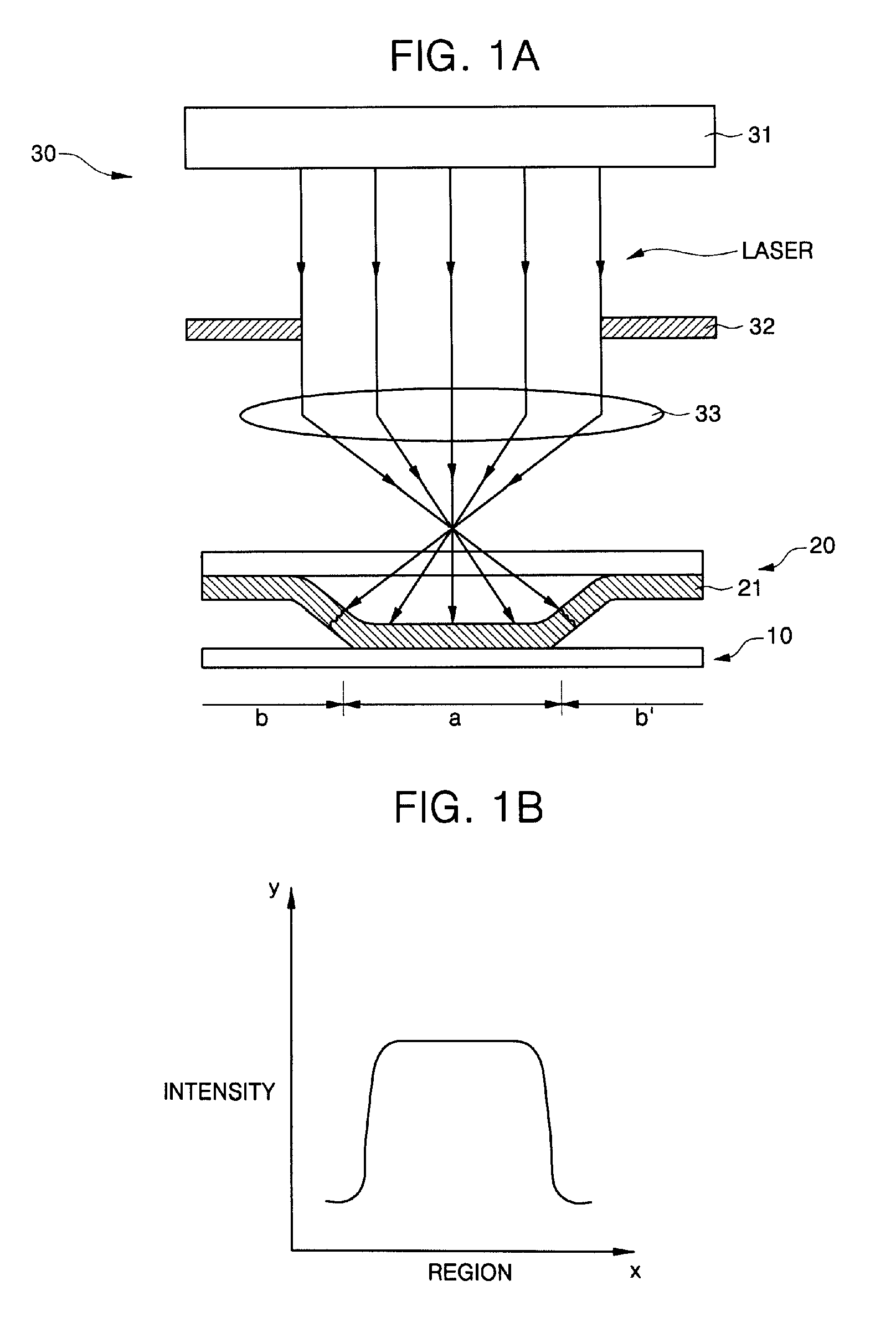
文本
图像
标题
Laser irradiation device, pattering method and method of fabricating organic light emitting display ( oled ) using the patterning method.
授权日
1900-01-01
公开(公告)号
EP1667249A2
申请日
2005-12-02
公开(公告)日
2006-06-07
当前申请(专利权)人
SAMSUNG DISPLAY CO., LTD.
发明人
LEE, JAE-HO | KANG, TAE-MIN | LEE, SEONG-TAEK
简单同族
CN100571476C | CN1816236A | EP1667249A2 | EP1667249A3 | EP1667249B1 | JP2006164978A | JP4620578B2 | KR100700641B1 | KR1020060062553A | US20060205101A1 | US20100117093A1 | US7675003 | US8946593
简单同族成员数量
13
简单同族被引用专利总数
122
诉讼案件数
0
法律状态/事件
授权 | 权利转移
抱歉,您的浏览器不支持PDF预览,请点击链接下载PDF文件