专利数据库
统计分析
产业报告
专利数据监控
产业人才
行业动态
产业政策法规
维权援助
个人中心
详情
文本
图像
标题
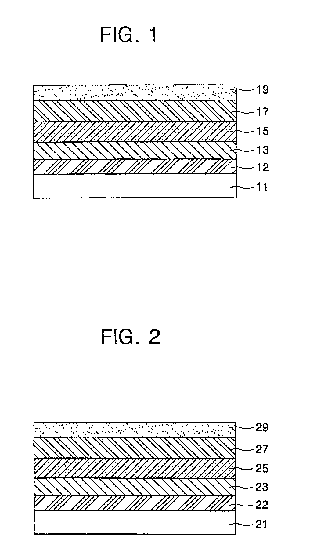
Organic light emitting display and method for fabricating the same
授权日
1900-01-01
公开(公告)号
EP1670084A1
申请日
2005-11-22
公开(公告)日
2006-06-14
当前申请(专利权)人
SAMSUNG SDI CO., LTD.
发明人
IM, JA-HYUN SAMSUNG SDI CO., LTD. | LEE, KWAN-HEE SAMSUNG SDI CO., LTD. | RYU, SEOUNG-YOON SAMSUNG SDI CO., LTD.
简单同族
CN101944570A | CN1797810A | DE602005005612D1 | DE602005005612T2 | EP1670084A1 | EP1670084B1 | JP2006156390A | KR100700013B1 | KR1020060059068A | US20060113907A1 | US8698395
简单同族成员数量
11
简单同族被引用专利总数
172
诉讼案件数
0
法律状态/事件
授权
抱歉,您的浏览器不支持PDF预览,请点击链接下载PDF文件