专利数据库
统计分析
产业报告
专利数据监控
产业人才
行业动态
产业政策法规
维权援助
个人中心
详情
文本
图像
标题
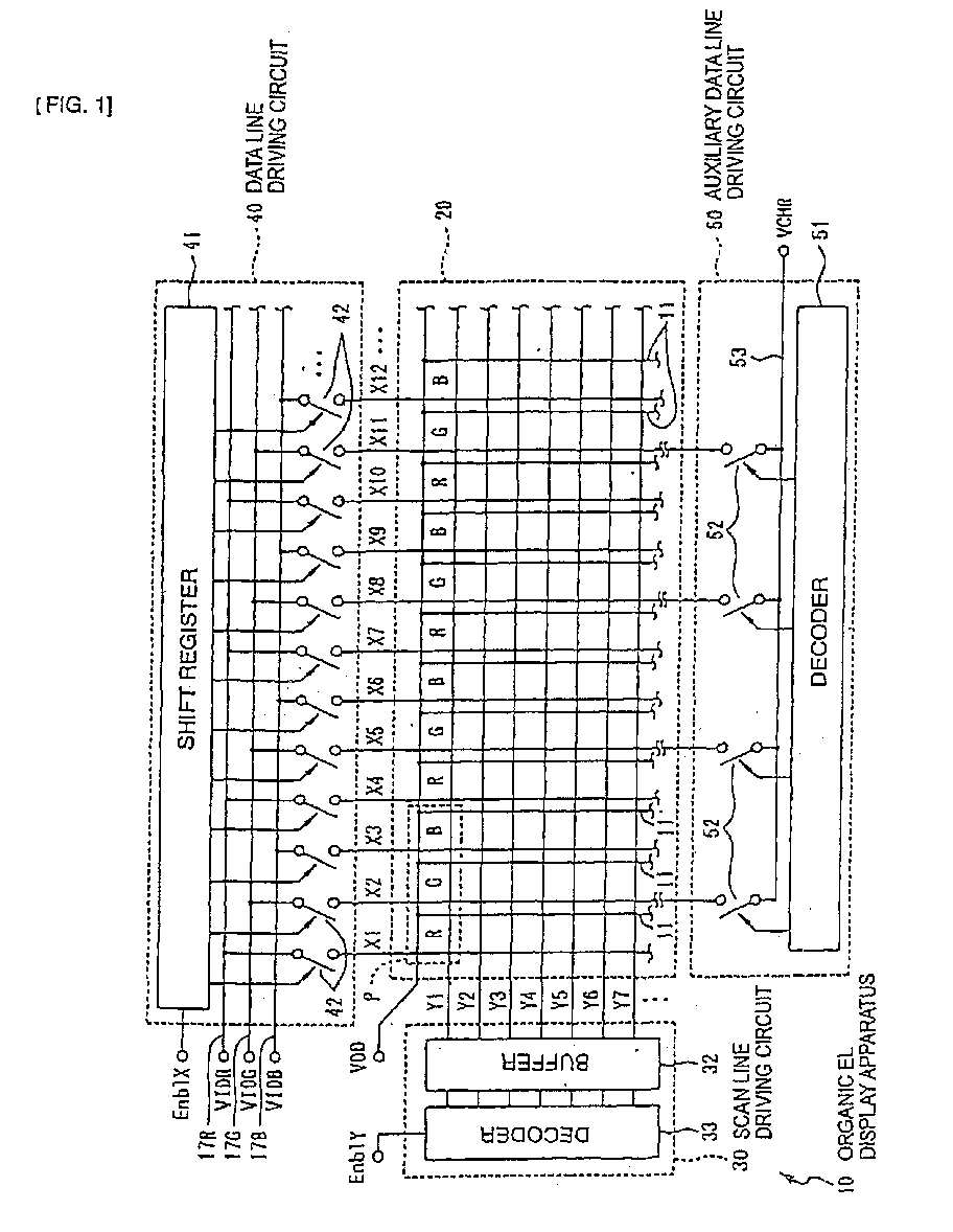
Method for driving an electro-optical device, organic electroluminescent display device, and electronic apparatus
授权日
1900-01-01
公开(公告)号
EP1193675A2
申请日
2001-09-28
公开(公告)日
2002-04-03
当前申请(专利权)人
SEIKO EPSON CORPORATION
发明人
MATSUEDA, YOJIRO, C/O SEIKO EPSON CORPORATION
简单同族
CN100367335C | CN1199142C | CN1360294A | CN1553425A | EP1193675A2 | EP1193675A3 | JP2002175045A | JP2002175045A5 | JP3797174B2 | KR100454756B1 | KR1020020025836A | TW525141B | US20020041278A1 | US6867761
简单同族成员数量
14
简单同族被引用专利总数
78
诉讼案件数
0
法律状态/事件
撤回
抱歉,您的浏览器不支持PDF预览,请点击链接下载PDF文件