专利数据库
统计分析
产业报告
专利数据监控
产业人才
行业动态
产业政策法规
维权援助
个人中心
详情
文本
图像
标题
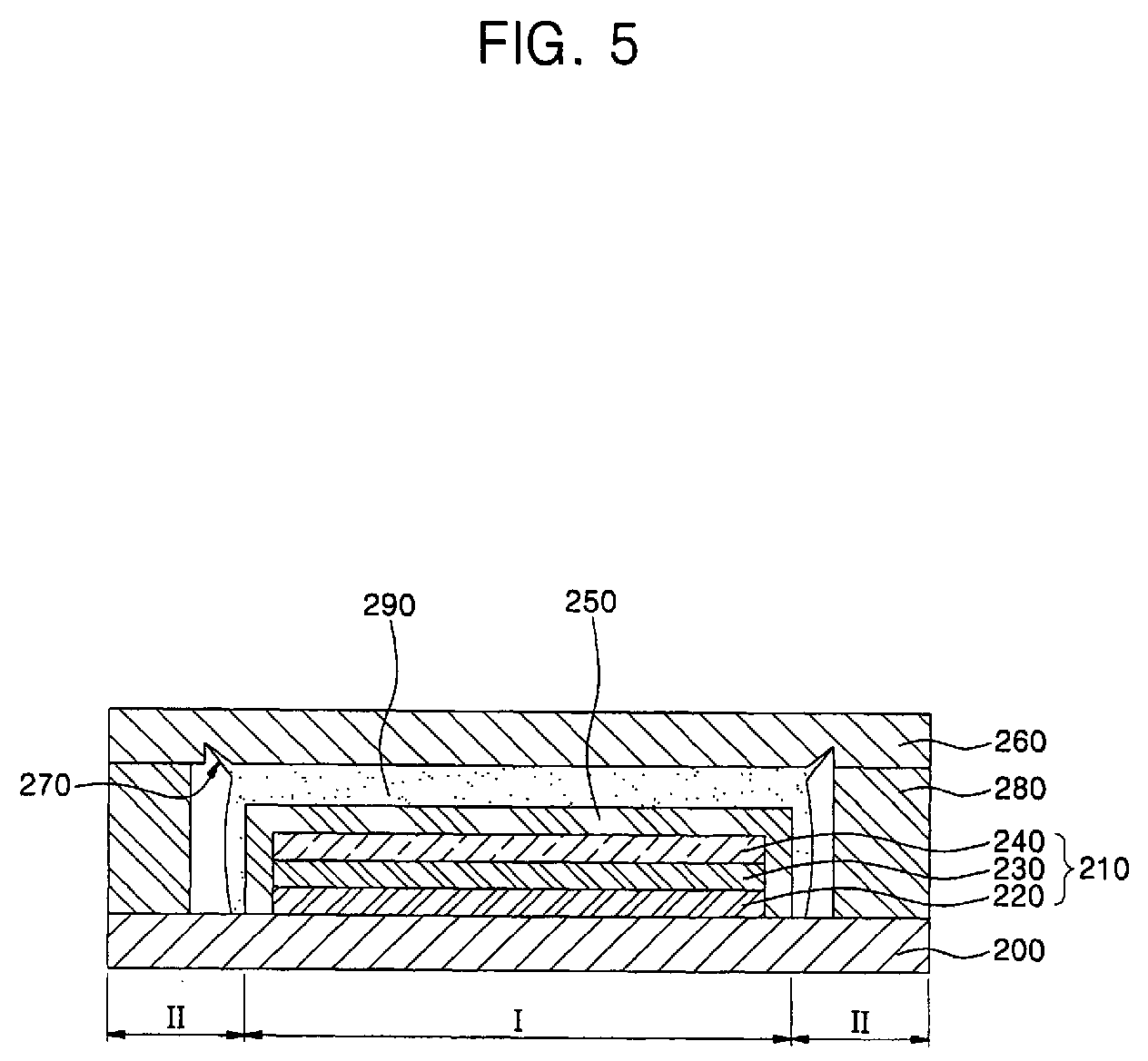
Organic light emitting display device and method of fabrication the same
授权日
1900-01-01
公开(公告)号
EP1814179A2
申请日
2007-01-25
公开(公告)日
2007-08-01
当前申请(专利权)人
SAMSUNG DISPLAY CO., LTD.
发明人
PARK, JIN-WOO C/O SAMSUNG SDI CO., LTD.
简单同族
EP1814179A2 | EP1814179A3 | JP2007200884A | JP4672677B2 | US20070170849A1 | US7999372
简单同族成员数量
6
简单同族被引用专利总数
95
诉讼案件数
0
法律状态/事件
撤回 | 权利转移
抱歉,您的浏览器不支持PDF预览,请点击链接下载PDF文件