专利数据库
统计分析
产业报告
专利数据监控
产业人才
行业动态
产业政策法规
维权援助
个人中心
详情
文本
图像
标题
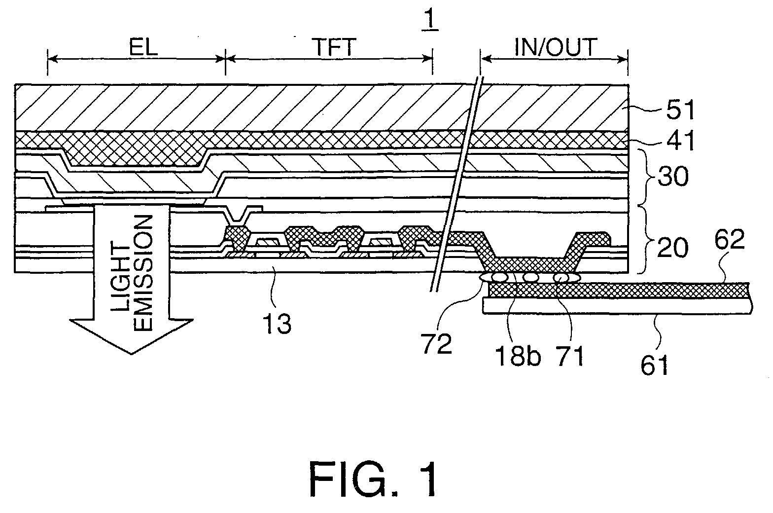
Organic EL display device, electronic equipment, and method for manufacturing the same
授权日
1900-01-01
公开(公告)号
EP1480272A2
申请日
2004-05-21
公开(公告)日
2004-11-24
当前申请(专利权)人
SEIKO EPSON CORPORATION
发明人
UTSUNOMIYA, SUMIO | KAMAKURA, TOMOYUKI
简单同族
CN100446268C | CN1575049A | EP1480272A2 | EP1480272A3 | JP2004349152A | JP3897173B2 | KR100627097B1 | KR1020040100913A | TW200427362A | TWI255151B | US20040245924A1 | US7342354
简单同族成员数量
12
简单同族被引用专利总数
86
诉讼案件数
0
法律状态/事件
撤回
抱歉,您的浏览器不支持PDF预览,请点击链接下载PDF文件