专利数据库
统计分析
产业报告
专利数据监控
产业人才
行业动态
产业政策法规
维权援助
个人中心
详情
文本
图像
标题
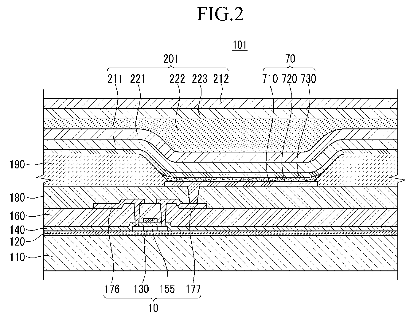
Organic light emitting diode display and method for manufacturing the same
授权日
1900-01-01
公开(公告)号
EP2581958A2
申请日
2012-10-12
公开(公告)日
2013-04-17
当前申请(专利权)人
SAMSUNG DISPLAY CO., LTD.
发明人
KIM, JIN-KWANG | SEO, SANG-JOON | KIM, SEUNG-HUN
简单同族
EP2581958A2 | EP2581958A3 | KR101809659B1 | KR1020130040574A | US20130092972A1 | US8975660
简单同族成员数量
6
简单同族被引用专利总数
51
诉讼案件数
0
法律状态/事件
驳回 | 权利转移
抱歉,您的浏览器不支持PDF预览,请点击链接下载PDF文件