专利数据库
统计分析
产业报告
专利数据监控
产业人才
行业动态
产业政策法规
维权援助
个人中心
详情
文本
图像
标题
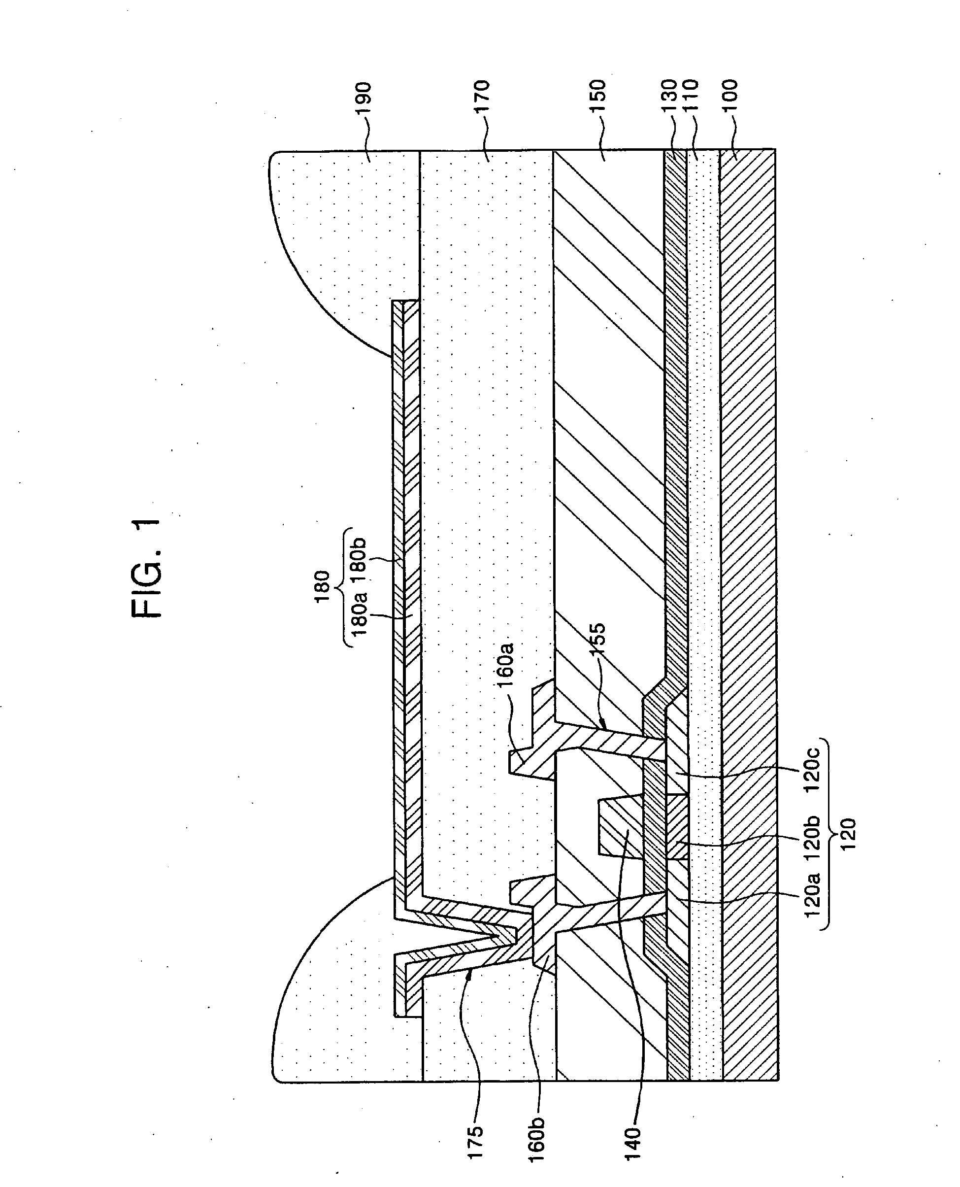
Organic light emitting display device and method of fabricating the same
授权日
2009-08-05
公开(公告)号
EP1840984B1
申请日
2007-03-26
公开(公告)日
2009-08-05
当前申请(专利权)人
SAMSUNG MOBILE DISPLAY CO., LTD.
发明人
IM, CHOONG-YOUL SAMSUNG SDI CO., LTD. | YOO, KYUNG-JIN SAMSUNG SDI CO., LTD. | JUN, WOO-SIK SAMSUNG SDI CO., LTD. | KWON, DO-HYUN SAMSUNG SDI CO., LTD. | KANG, TAE-WOOK SAMSUNG SDI CO., LTD.
简单同族
CN101114668A | CN101114668B | DE602007001818D1 | EP1840984A1 | EP1840984B1 | JP2007265972A | JP4745266B2 | KR100782458B1 | KR1020070096702A | US20070257253A1 | US8415675
简单同族成员数量
11
简单同族被引用专利总数
47
诉讼案件数
0
法律状态/事件
授权 | 权利转移
抱歉,您的浏览器不支持PDF预览,请点击链接下载PDF文件