专利数据库
统计分析
产业报告
专利数据监控
产业人才
行业动态
产业政策法规
维权援助
个人中心
详情
文本
图像
标题
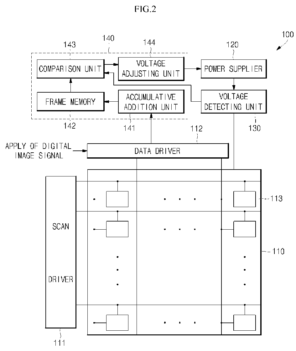
Organic light emitting display and driving method thereof
授权日
1900-01-01
公开(公告)号
EP1986179A3
申请日
2008-04-23
公开(公告)日
2008-12-03
当前申请(专利权)人
SAMSUNG DISPLAY CO., LTD.
发明人
CHOI, SANGMOO
简单同族
CN101295464A | CN101295464B | EP1986179A2 | EP1986179A3 | JP2008268914A | KR100914118B1 | KR1020080095462A | US20080266216A1 | US9105237
简单同族成员数量
9
简单同族被引用专利总数
129
诉讼案件数
0
法律状态/事件
驳回 | 权利转移
抱歉,您的浏览器不支持PDF预览,请点击链接下载PDF文件