专利数据库
统计分析
产业报告
专利数据监控
产业人才
行业动态
产业政策法规
维权援助
个人中心
详情
文本
图像
标题
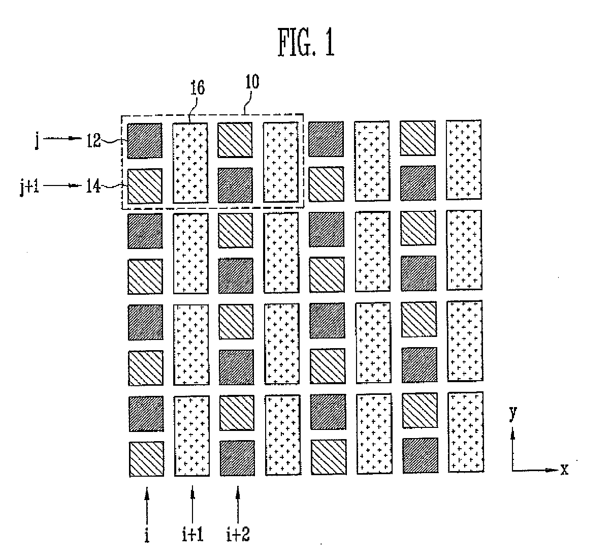
Pixel arrangement of an organic light emitting display device
授权日
1900-01-01
公开(公告)号
EP2390869A3
申请日
2011-05-25
公开(公告)日
2013-08-14
当前申请(专利权)人
SAMSUNG DISPLAY CO., LTD.
发明人
KIM, GUN-SHIK | OH, JUN-SIK | KIM, JAE-SHIN
简单同族
CN102262854A | CN102262854B | EP2390869A2 | EP2390869A3 | JP2011249334A | JP5346060B2 | KR1020110129531A | US20110291550A1 | US8552635
简单同族成员数量
9
简单同族被引用专利总数
179
诉讼案件数
0
法律状态/事件
驳回 | 权利转移
抱歉,您的浏览器不支持PDF预览,请点击链接下载PDF文件