专利数据库
统计分析
产业报告
专利数据监控
产业人才
行业动态
产业政策法规
维权援助
个人中心
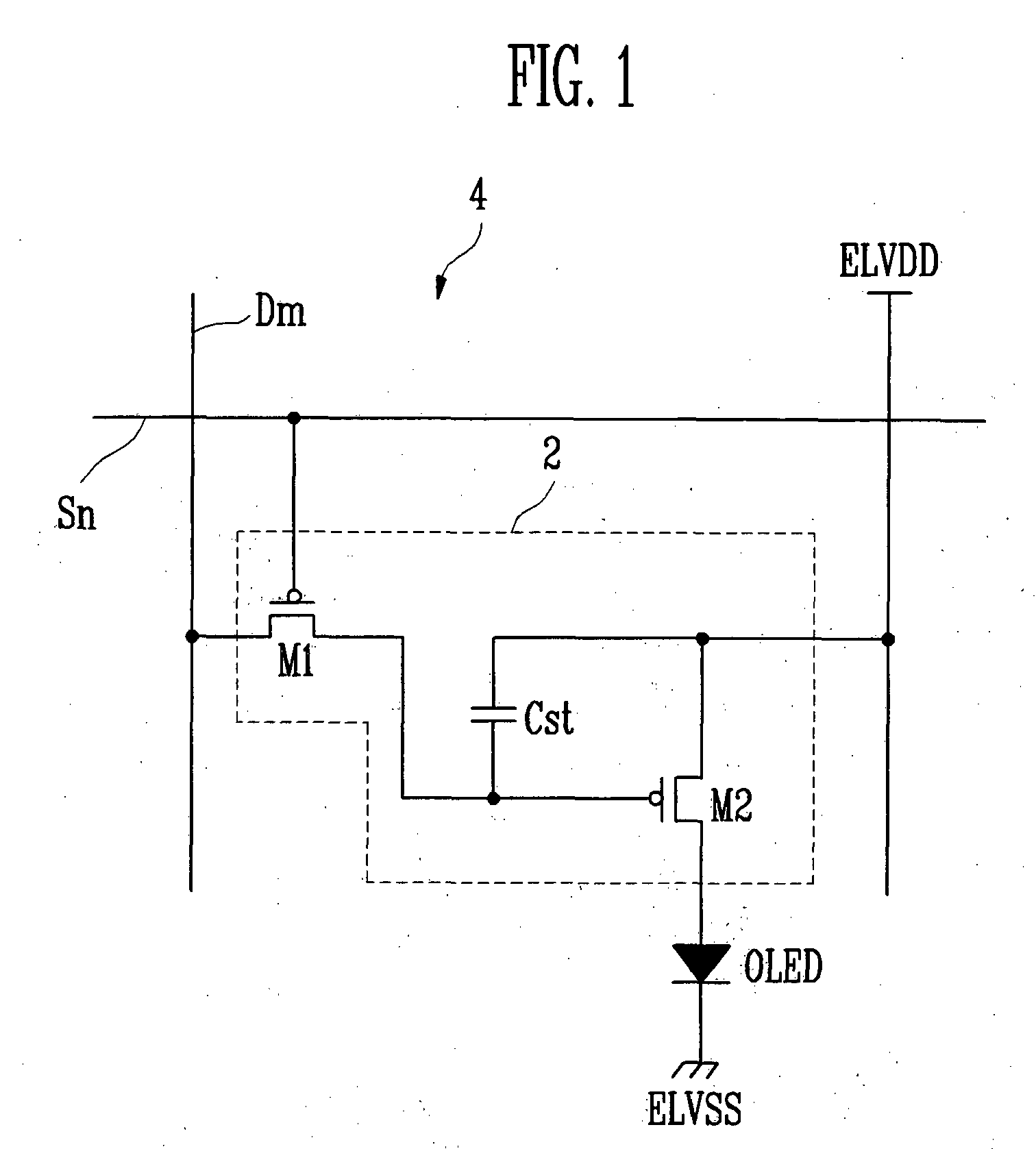
详情
文本
图像
标题
Organic light emitting display and driving method thereof
授权日
2016-10-12
公开(公告)号
EP2133860B1
申请日
2009-06-10
公开(公告)日
2016-10-12
当前申请(专利权)人
SAMSUNG DISPLAY CO., LTD.
发明人
KIM, YANG-WAN
简单同族
CN101615379A | CN101615379B | EP2133860A1 | EP2133860B1 | JP2009301037A | KR101073323B1 | KR1020090129336A | US20090309818A1 | US8405582
简单同族成员数量
9
简单同族被引用专利总数
117
诉讼案件数
0
法律状态/事件
授权 | 权利转移
抱歉,您的浏览器不支持PDF预览,请点击链接下载PDF文件