专利数据库
统计分析
产业报告
专利数据监控
产业人才
行业动态
产业政策法规
维权援助
个人中心
详情
文本
图像
标题
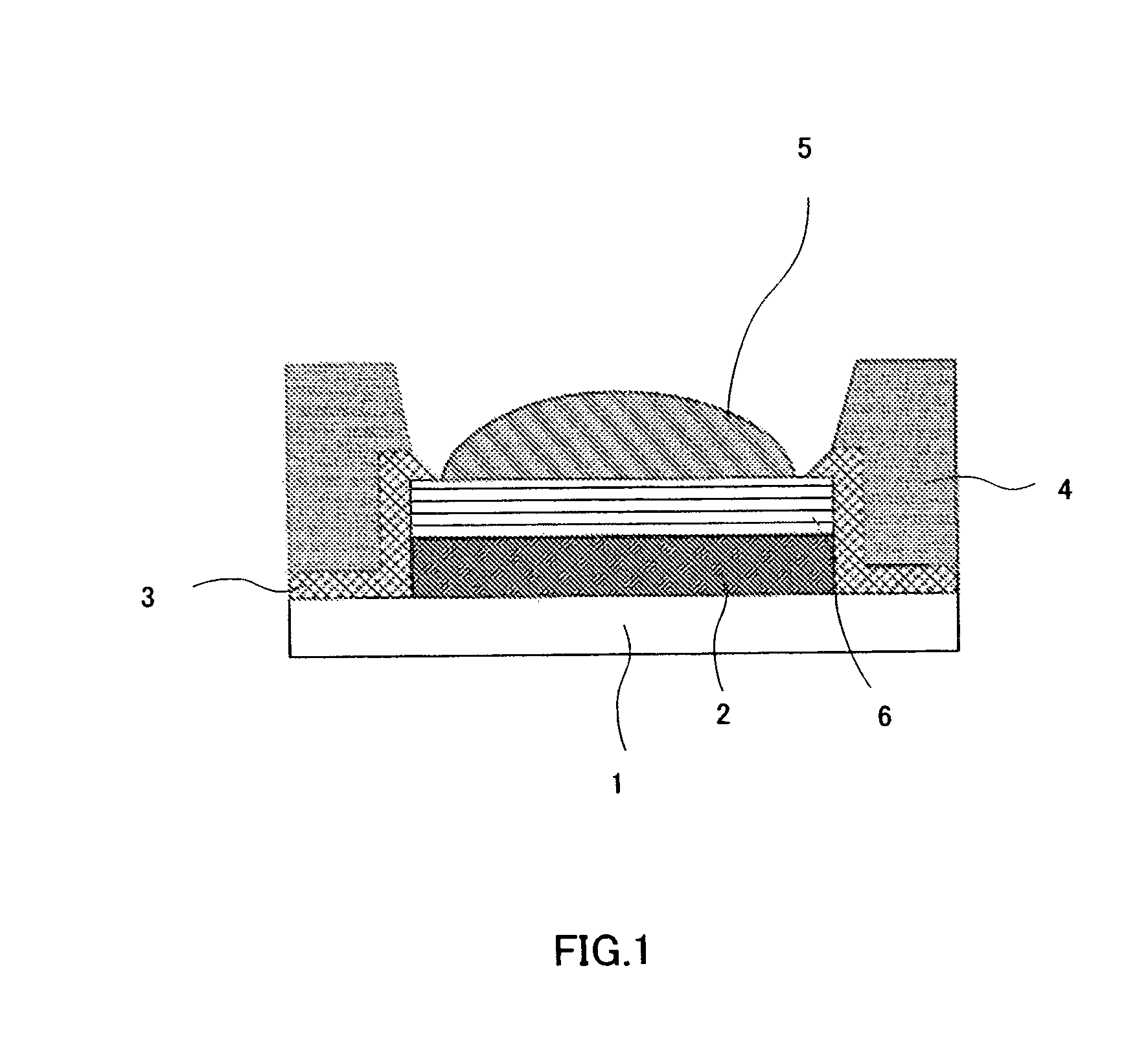
Organic el device, el display panel, method for manufacturing the organic el device and method for manufacturing the el display panel
授权日
2013-05-22
公开(公告)号
EP2221899B1
申请日
2008-12-02
公开(公告)日
2013-05-22
当前申请(专利权)人
PANASONIC CORPORATION
发明人
NAKATANI, SHUHEI | YOSHIDA, HIDEHIRO
简单同族
CN101855742A | CN101855742B | EP2221899A1 | EP2221899A4 | EP2221899B1 | JP2010021162A | JP4410313B2 | JP4456661B2 | JPWO2009075075A1 | KR101172794B1 | KR1020100087187A | US20100252857A1 | US8310152 | WO2009075075A1
简单同族成员数量
14
简单同族被引用专利总数
100
诉讼案件数
0
法律状态/事件
授权
抱歉,您的浏览器不支持PDF预览,请点击链接下载PDF文件