专利数据库
统计分析
产业报告
专利数据监控
产业人才
行业动态
产业政策法规
维权援助
个人中心
详情
文本
图像
标题
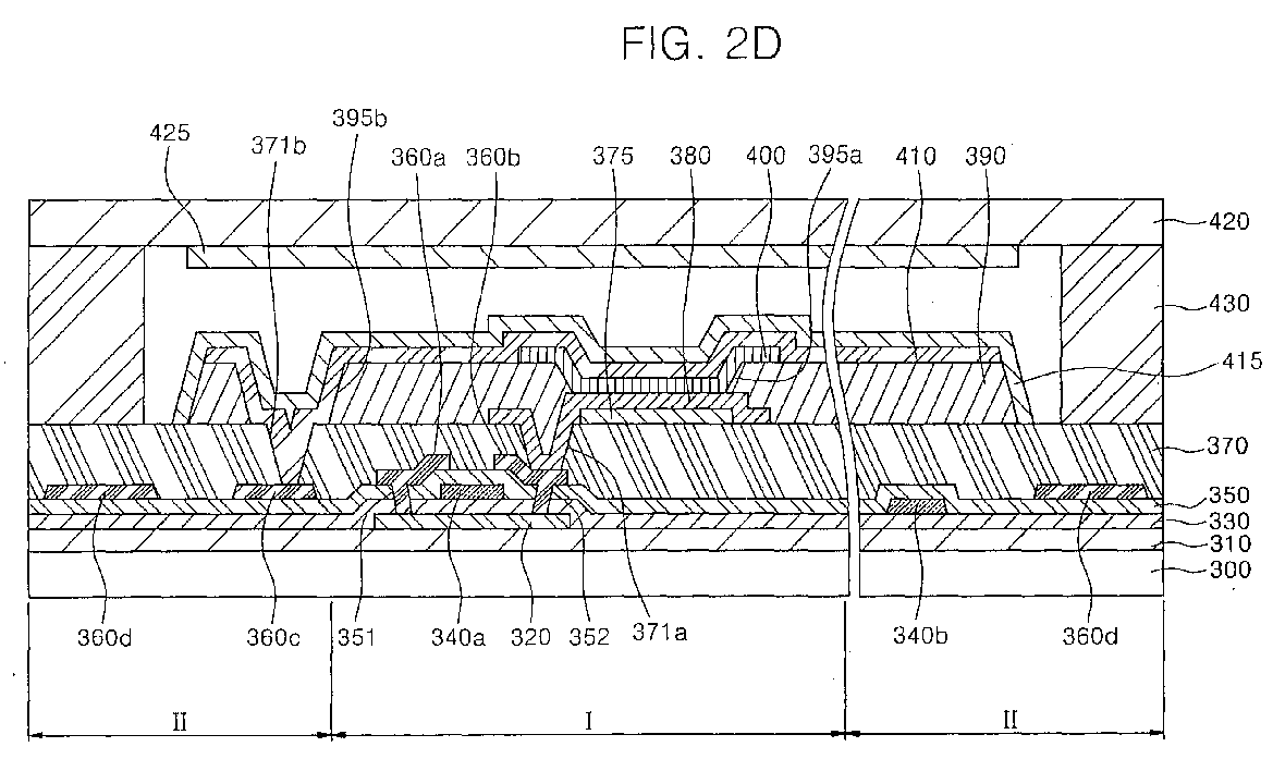
Organic light emitting display and method of fabricating the same
授权日
1900-01-01
公开(公告)号
EP1811588A2
申请日
2007-01-23
公开(公告)日
2007-07-25
当前申请(专利权)人
SAMSUNG MOBILE DISPLAY CO., LTD.
发明人
CHOI, DONG-SOO, SAMSUNG SDI CO., LTD. | PARK, JIN-WOO, SAMSUNG SDI CO., LTD. | KWAK, WON-KYU, SAMSUNG SDI CO., LTD. | KIM, DEUK JONG, SAMSUNG SDI CO., LTD. | SONG, SEUNG YONG, SAMSUNG SDI CO., LTD.
简单同族
CN102184936A | EP1811588A2 | JP2007200883A | TW200730013A | US20070170846A1
简单同族成员数量
5
简单同族被引用专利总数
65
诉讼案件数
0
法律状态/事件
撤回 | 权利转移
抱歉,您的浏览器不支持PDF预览,请点击链接下载PDF文件