专利数据库
统计分析
产业报告
专利数据监控
产业人才
行业动态
产业政策法规
维权援助
个人中心
详情
文本
图像
标题
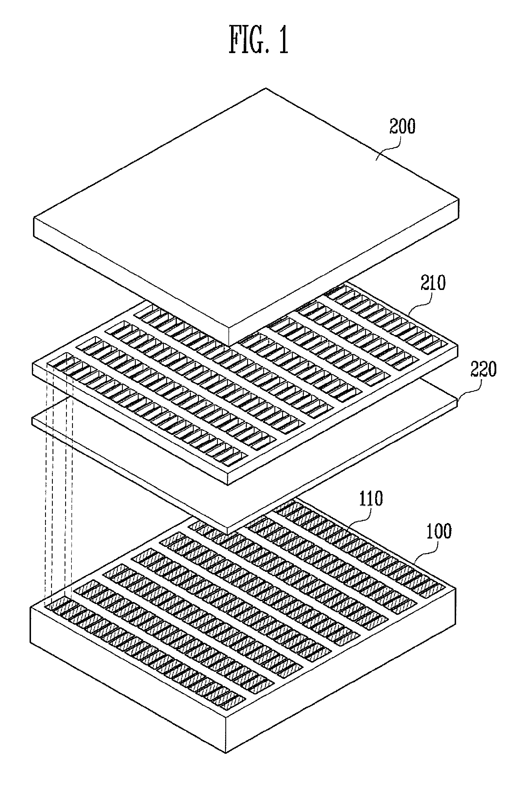
Organic light emitting display
授权日
1900-01-01
公开(公告)号
EP2178124A1
申请日
2009-10-14
公开(公告)日
2010-04-21
当前申请(专利权)人
SAMSUNG DISPLAY CO., LTD.
发明人
KWAK, WON-KYU
简单同族
CN101728419A | EP2178124A1 | JP2010097925A | JP4990318B2 | KR100963074B1 | KR1020100042799A | US20100097295A1 | US8354980
简单同族成员数量
8
简单同族被引用专利总数
140
诉讼案件数
0
法律状态/事件
驳回 | 权利转移
抱歉,您的浏览器不支持PDF预览,请点击链接下载PDF文件