专利数据库
统计分析
产业报告
专利数据监控
产业人才
行业动态
产业政策法规
维权援助
个人中心
详情
文本
图像
标题
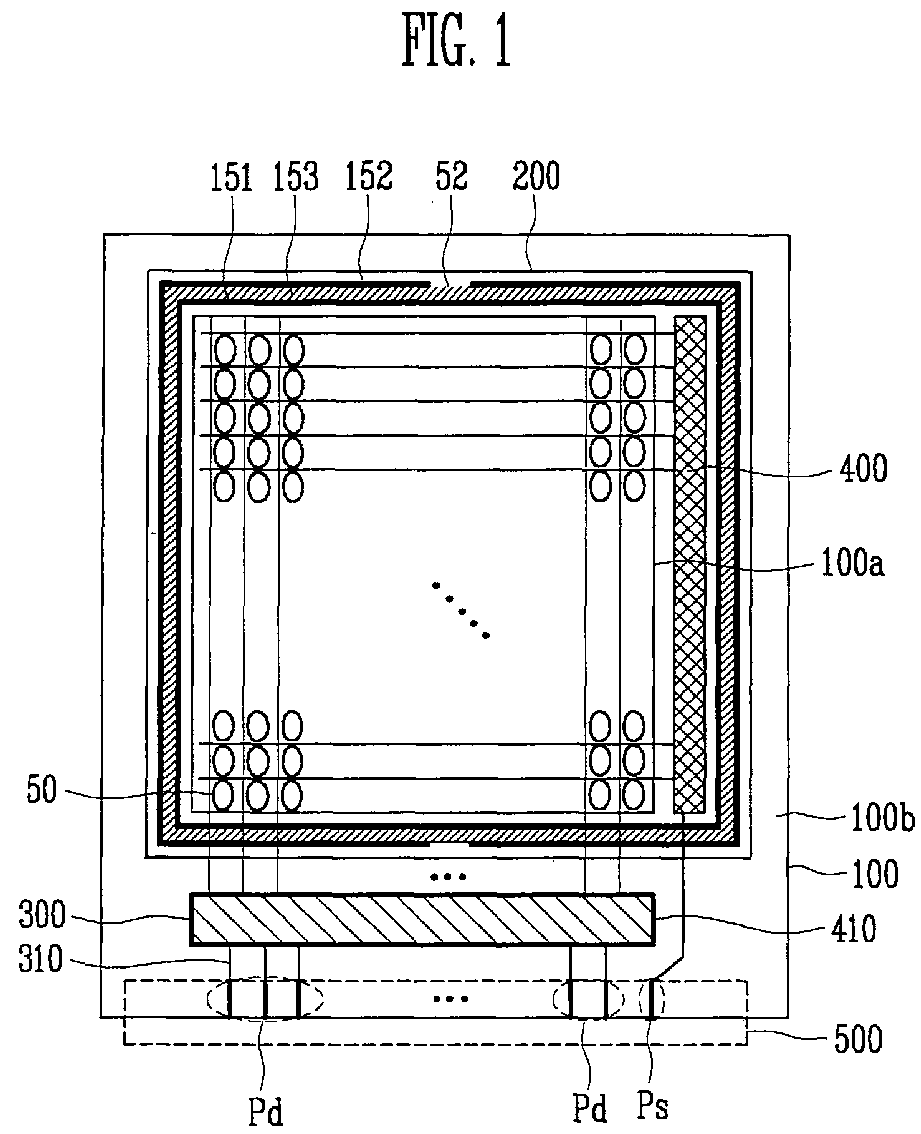
Organic light emitting display and fabricating method of the same
授权日
1900-01-01
公开(公告)号
EP1811589A2
申请日
2007-01-24
公开(公告)日
2007-07-25
当前申请(专利权)人
SAMSUNG DISPLAY CO., LTD.
发明人
KIM, TAE SEUNG, SAMSUNG SDI CO., LTD. | LIM, DAE HO, SAMSUNG SDI CO., LTD. | LEE, HO SEOK, SAMSUNG SDI CO., LTD. | LEE, JONG WOO, SAMSUNG SDI CO., LTD.
简单同族
CN103762319A | CN103762319B | EP1811589A2 | EP1811589A3 | EP1811589B1 | JP2007200842A | JP4456092B2 | TW200730009A | TWI391020B | US20070170605A1 | US7834550
简单同族成员数量
11
简单同族被引用专利总数
141
诉讼案件数
0
法律状态/事件
授权 | 权利转移
抱歉,您的浏览器不支持PDF预览,请点击链接下载PDF文件