专利数据库
统计分析
产业报告
专利数据监控
产业人才
行业动态
产业政策法规
维权援助
个人中心
详情
文本
图像
标题
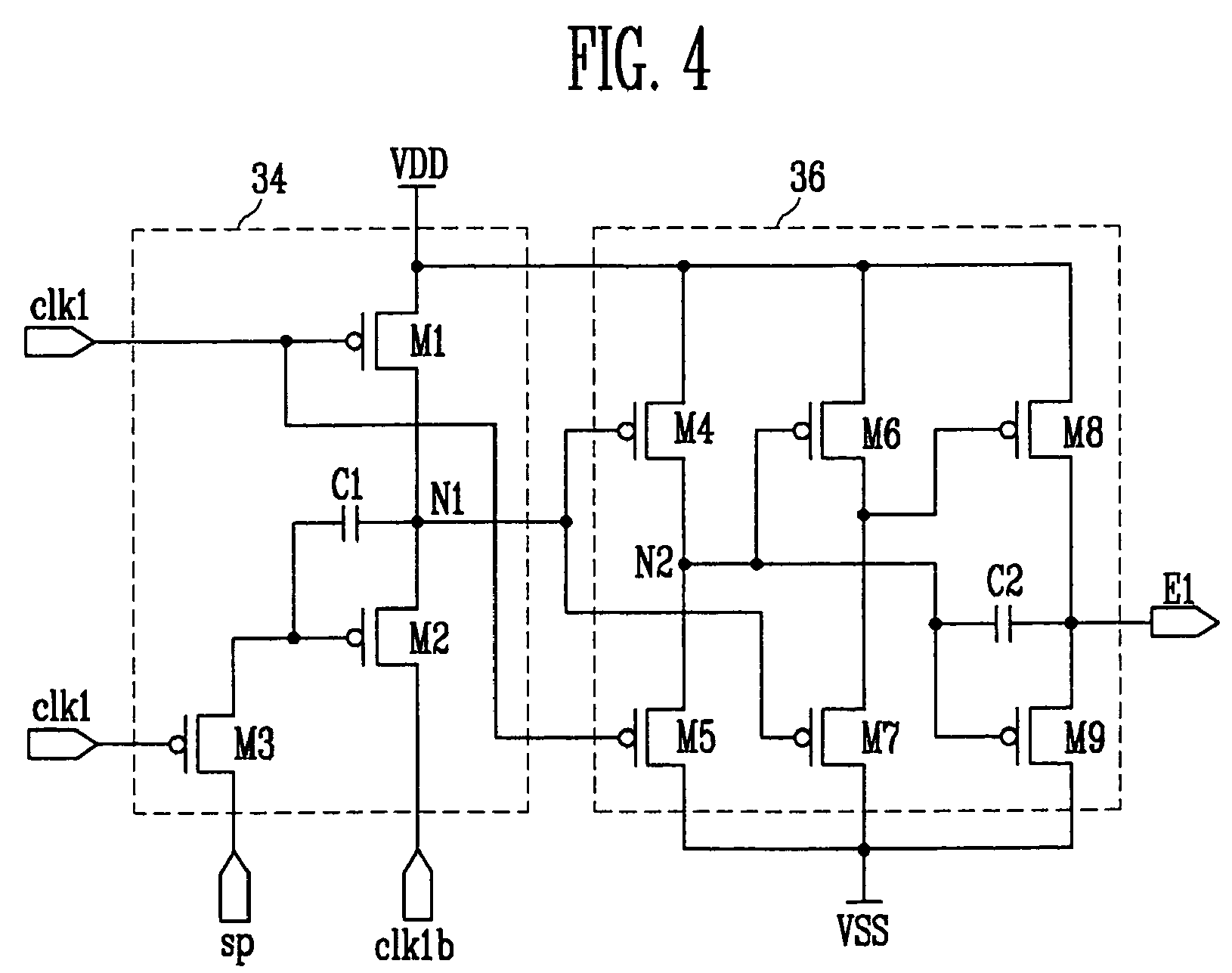
Emission control line driver and organic light emitting display using the emission control line driver
授权日
1900-01-01
公开(公告)号
EP1763003A2
申请日
2006-09-13
公开(公告)日
2007-03-14
当前申请(专利权)人
SAMSUNG DISPLAY CO., LTD.
发明人
CHUNG, BO YONG, SAMSUNG SDI CO., LEGAL & IP TEAM
简单同族
EP1763003A2 | EP1763003A3 | EP1763003B1 | KR100646992B1 | US20070063933A1 | US8299982
简单同族成员数量
6
简单同族被引用专利总数
94
诉讼案件数
0
法律状态/事件
授权 | 权利转移
抱歉,您的浏览器不支持PDF预览,请点击链接下载PDF文件