专利数据库
统计分析
产业报告
专利数据监控
产业人才
行业动态
产业政策法规
维权援助
个人中心
详情
文本
图像
标题
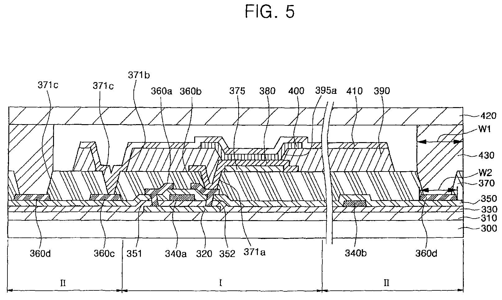
Organic light emitting display and method of fabricating the same
授权日
1900-01-01
公开(公告)号
EP1811571A2
申请日
2007-01-23
公开(公告)日
2007-07-25
当前申请(专利权)人
SAMSUNG DISPLAY CO., LTD.
发明人
CHOI, DONG-SOO, C/O SAMSUNG SDI CO. LTD. | PARK, JIN-WOO, C/O SAMSUNG SDI CO. LTD.
简单同族
CN101009311A | CN101009311B | EP1811571A2 | EP1811571A3 | EP1811571B1 | JP2007200843A | JP4472668B2 | KR100635514B1 | TW200730022A | TWI341144B | US20070170850A1 | US8120249
简单同族成员数量
12
简单同族被引用专利总数
125
诉讼案件数
0
法律状态/事件
授权 | 权利转移
抱歉,您的浏览器不支持PDF预览,请点击链接下载PDF文件