专利数据库
统计分析
产业报告
专利数据监控
产业人才
行业动态
产业政策法规
维权援助
个人中心
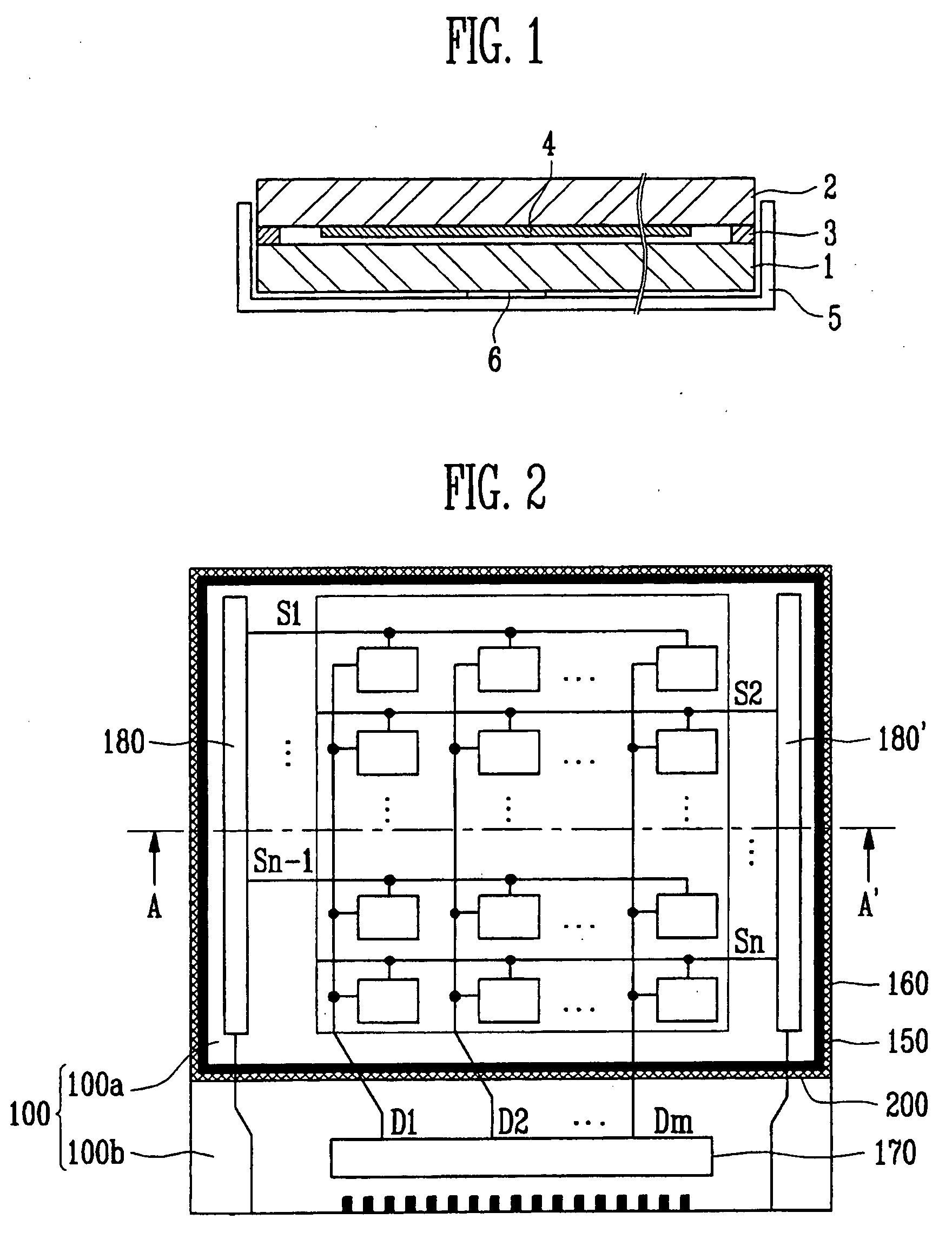
详情
文本
图像
标题
Organic light-emitting display with frit seal and reinforcing structure bonded to frame
授权日
2016-06-01
公开(公告)号
EP1814178B1
申请日
2007-01-25
公开(公告)日
2016-06-01
当前申请(专利权)人
SAMSUNG DISPLAY CO., LTD.
发明人
LEE, JAE SUN | PARK, JIN-WOO | CHOI, DONG-SOO | LIM, DAE HO | LEE, JONG WOO | LEE, UNG SOO | SIN, SANG WOOK
简单同族
CN100524803C | CN101009313A | EP1814178A2 | EP1814178A3 | EP1814178B1 | JP2007200844A | JP4890982B2 | KR100688795B1 | TW200733788A | TWI338529B | US20070170860A1 | US7944143
简单同族成员数量
12
简单同族被引用专利总数
149
诉讼案件数
0
法律状态/事件
授权 | 权利转移
抱歉,您的浏览器不支持PDF预览,请点击链接下载PDF文件