专利数据库
统计分析
产业报告
专利数据监控
产业人才
行业动态
产业政策法规
维权援助
个人中心
详情
文本
图像
标题
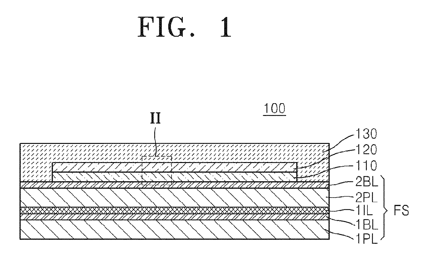
Organic light-emitting diode display, an electronic device including the same, and method of manufacturing said organic light-emitting diode display
授权日
1900-01-01
公开(公告)号
EP2804231A3
申请日
2014-05-14
公开(公告)日
2015-05-06
当前申请(专利权)人
SAMSUNG DISPLAY CO., LTD.
发明人
PARK, YONG-HWAN | LEE, JAE-SEOB | KANG, JIN-GYU | BAE, SUNG-SIK | AN, SUNG-GUK | JO, GYOO-CHUL | HEO, JUN
简单同族
CN104167424A | CN104167424B | CN110600633A | CN110649071A | CN110649072A | CN110649175A | CN203910803U | EP2804231A2 | EP2804231A3 | KR1020140135565A | KR102104608B1 | TW201445732A | TWI627742B | US20140339517A1 | US9419243
简单同族成员数量
15
简单同族被引用专利总数
51
诉讼案件数
0
法律状态/事件
实质审查 | 权利转移
抱歉,您的浏览器不支持PDF预览,请点击链接下载PDF文件