专利数据库
统计分析
产业报告
专利数据监控
产业人才
行业动态
产业政策法规
维权援助
个人中心
详情
文本
图像
标题
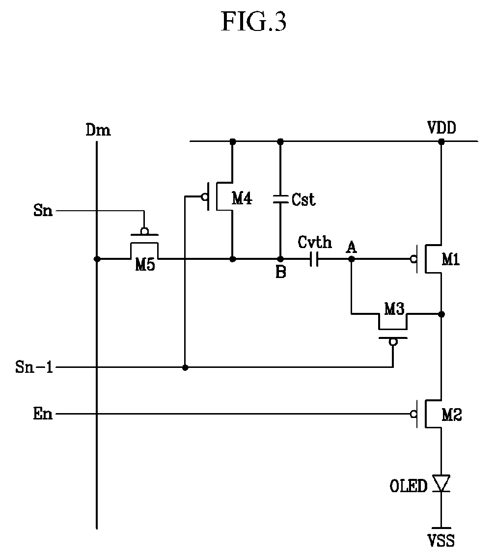
Light-emitting display device
授权日
1900-01-01
公开(公告)号
EP1591993A1
申请日
2005-04-26
公开(公告)日
2005-11-02
当前申请(专利权)人
SAMSUNG SDI CO., LTD.
发明人
EOM, KI-MYEONG | KWAK, WON-KYU | OH, CHOON-YUL
简单同族
AT375587T | DE602005002777D1 | DE602005002777T2 | EP1591993A1 | EP1591993B1 | JP2005316385A | JP4401971B2 | US20050243037A1 | US7202606
简单同族成员数量
9
简单同族被引用专利总数
107
诉讼案件数
0
法律状态/事件
授权
抱歉,您的浏览器不支持PDF预览,请点击链接下载PDF文件