专利数据库
统计分析
产业报告
专利数据监控
产业人才
行业动态
产业政策法规
维权援助
个人中心
详情
文本
图像
标题
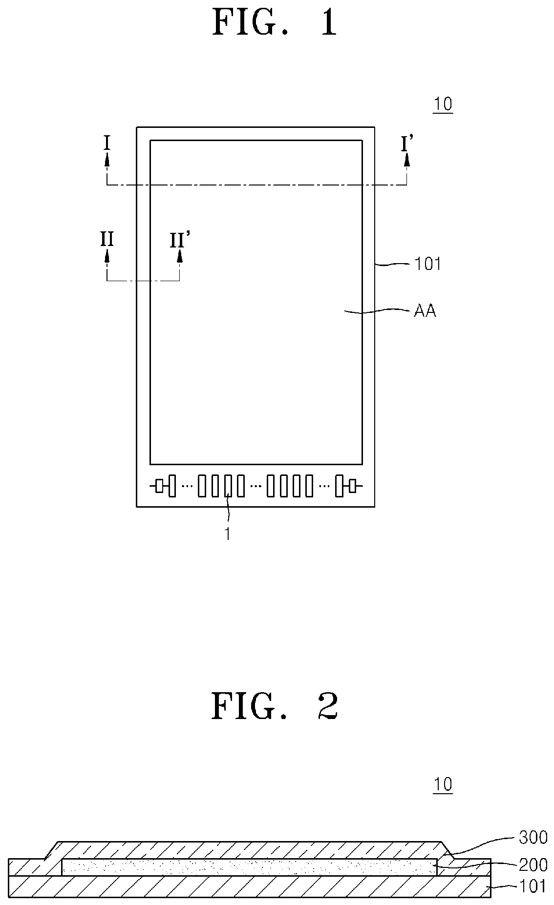
Organic light-emitting display system and method of manufacturing the same
授权日
2019-09-18
公开(公告)号
EP2733763B1
申请日
2013-07-23
公开(公告)日
2019-09-18
当前申请(专利权)人
SAMSUNG DISPLAY CO., LTD.
发明人
LEE, JEONG-YEOL | CHO, YOON-HYEUNG | HAN, OUCK
简单同族
CN103824871A | CN103824871B | CN203339167U | EP2733763A2 | EP2733763A3 | EP2733763B1 | JP2014103111A | JP2014103111A5 | JP6305015B2 | KR1020140064136A | KR102048926B1 | TW201421666A | TWI594412B | US20140138634A1 | US20140299862A1 | US8772824 | US9263676
简单同族成员数量
17
简单同族被引用专利总数
61
诉讼案件数
0
法律状态/事件
授权 | 权利转移
抱歉,您的浏览器不支持PDF预览,请点击链接下载PDF文件